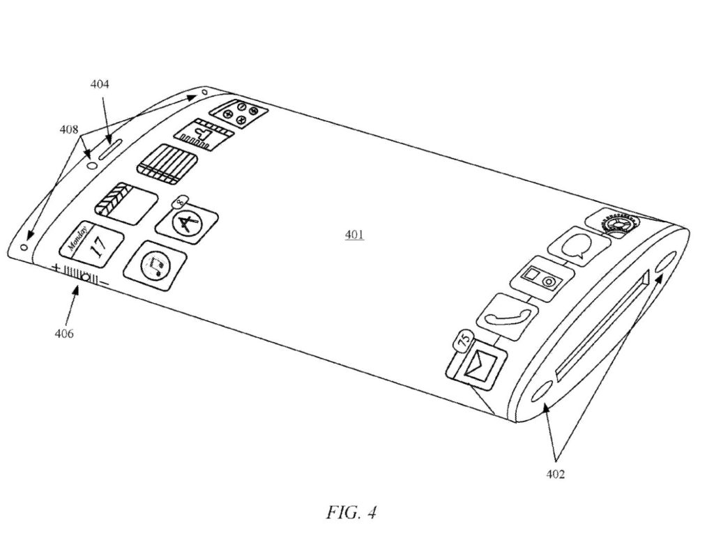
Apple has been granted another patent (number 11487330 and one of dozens) for an iPhone with a wraparound display.
Background of the patent
Apple says that, in the last few years, the functionality of portable electronic devices has increased exponentially. Further improvements be realized by investigating ways to maximize the utility of unused portions of these devices.
Apple says that form factor is an “interesting area” for development given that a large majority of portable electronic devices have settled into a standard form factor; namely a flat planar form factor with a display on one side and an opaque housing which contains the electrical components covering the rear surface of the device.
Apple says that, unfortunately, this popular form factor, leaves the sides and rear surfaces of the device unused or at best configured with buttons and switches with fixed location and functionality. Since many of these buttons and switches have fixed functionality they cannot always be incorporated into third party applications.
Therefore, there exists a need for an improved form factor for portable electronic devices which allows functionality to extend to more than one surface of the device. Apple’s idea is an iPhone with a wraparound display.
Summary of the patent
Here’s Apple’s abstract of the patent: “A consumer electronic product includes at least a transparent housing and a flexible display assembly enclosed within the transparent housing. In the described embodiment, the flexible display assembly is configured to present visual content at any portion of the transparent housing.”
Article provided with permission from AppleWorld.Today

