Apple has filed for a patent (number 20220304175) for “additively manufactured device enclosures.” The goal is to make Macs, iPhones, iPads, Apple Watches, and other devices even tougher.
About the patent filing
In the patent filing, Apple notes that electronic devices, including portable electronic devices such as handheld phones, tablet computers, and watches, can experience contact with various surfaces during use. And, as we all know, the use, transportation, and storage of such devices can exert mechanical and thermal stresses thereon.
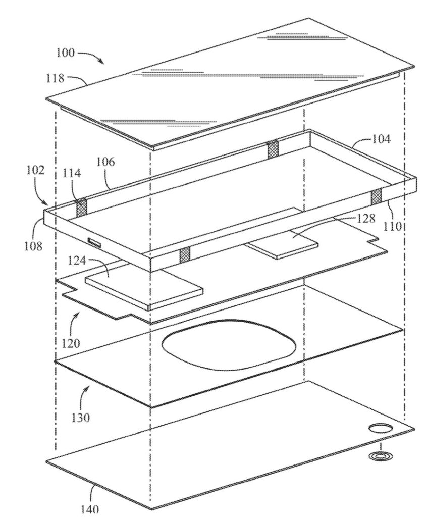
Apple says that components for these devices, such as enclosures or housings, can benefit from exhibiting different combinations of properties relating to the use of the device. A housing for a portable electronic device can have a combination of properties, such as strength, appearance, toughness, abrasion resistance, weight, corrosion resistance, thermal conductivity, electromagnetic shielding, and cost, in order for the device to function as desired.
Certain materials, or certain methods of forming materials can provide a desired level of performance with respect to some properties, but may not provide an optimal level of performance with respect to others. For these reasons, Apple says it may be desirable to provide a device enclosure that can include multiple materials, or material formed by multiple processes, to achieve a desired level of performance with respect to as many properties as desired.
Summary of the patent filing
Here’s Apple’s abstract of the patent filing: “A component for an electronic device can include a pre-formed substrate comprising a first metal and an additively manufactured portion bonded to the pre-formed substrate. The additively manufactured portion can include a first portion comprising a second metal and defining a volume, the first portion having a first value of a material property, and a second portion disposed in the volume, the second portion having a second value of the material property that is different from the first value.”
Article provided with permission from AppleWorld.Today

