Several Macs allow you to use multiple displays. Now Apple has filed for a patent (number 20220280798) for a dual display stand.
About the patent filing
The patent filing involves adjustable stands for multiple computer displays. Apple says that computer device designers often desire to control positioning of a computer monitor or similar display at whatever height and orientation are best suited for the needs of the user. A stand can position the display to accommodate users and desktop surfaces of different heights, sizes, and postures. Ideally, the stand can allow the user to adjust the monitor with little expended effort.
However, Apple says that while various existing display stands provide tilt, rotation, and vertical height adjustment of monitors, these features often come at the expense of being convenient and natural to use. Many require the user to deal with significant friction or hysteresis that makes adjustment difficult, awkward, and time consuming.
Apple says that such issues impede the stand from having a high quality, satisfying user experience. These issues are compounded when the display stand must support more than one display. Apple says that there’s a need for improvements to stands and supports for electronic devices.
Summary of the patent filing
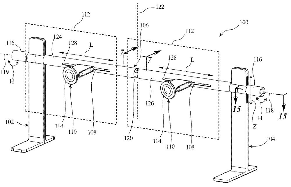
Here’s Apple’s abstract of the patent filing: “A display stand has two spaced apart legs connected by a horizontal support bar that is attachable to multiple displays. Carriage assemblies allow the stand to adjust the vertical position of the displays, shuttles and rails allow the stand to adjust the horizontal positions of the displays, and a central joint on the support bar allows the stand to adjust the angle between the displays.
“The carriage assemblies can convert rotational movement of adjustment handles into vertical movement of the support bar that is synchronized at both legs whether the support bar is in a straight or angled configuration. Wheels on the shuttles can provide smooth, consistent contact with rails in the support bar despite changes in the nominal dimensions of the rails. The display stand provides improved smoothness, rigidity, and comfort for the user to support and use multiple displays on a single stand.”
Article provided with permission from AppleWorld.Today

