Apple has been granted a patent (number 11,422,769) that shows the company wants to make it easier to switch between sound, silent, and mute modes on its various devices.
About the patent
An electronic device such as an iPhone can include several modes for providing audio to a user. For example, smartphone can include a ring mode and a silent mode. When the ring mode is enabled, incoming communications requests may cause the device to output audio indicating the request to a user.
In addition, system sounds (e.g., audio associated with inputs, such as key striking sounds) or application sounds (e.g., background music in a game application, or voice over help) can be provided. Similarly, sounds explicitly requested by a user, such as media playback audio (e.g., provided by a media streaming application or by a media application for playing back locally stored media) can be provided when the ring mode is enabled.
Of course, a user can switch from the ring mode to a silent mode to prevent the device from outputting some of the audio. For example, a user may not want the cellular telephone to provide an audible ring while in a meeting, but may instead want the cellular telephone to vibrate. In silent mode, no audio indicating an incoming communications request can be provided, but other non-audible processes can be used instead to indicate the communications request (e.g., a display indication, or a haptic indication).
Similarly, some system sounds and application sounds provided in the ring mode can also be silenced in a silent mode. Some system sounds and application sounds, as well as sounds explicitly requested by the user, can however be provided. The system and application can qualify different sounds that they provide using different categories including, for example, categories that indicate whether a sound is silenced by the silent mode.
Apple says, however, that other electronic devices, however, may have no need for a ring mode. In particular, Mac laptops and desktops, which may not ring upon receiving a communications request, may not include ring and silent modes. Instead, these devices can include mute and un-mute modes. In an un-mute mode, all sounds generated by the device can be provided to a user.
In particular, system sounds and application sounds can be provided using different routes (e.g., on-device speakers, through a line-out port, or through an audio jack). In a mute mode, no sounds generated by the device can be provided to the different routes for output. For example, the device may not send audio associated with the system or application to subroutines or processes associated with providing audio outputs.
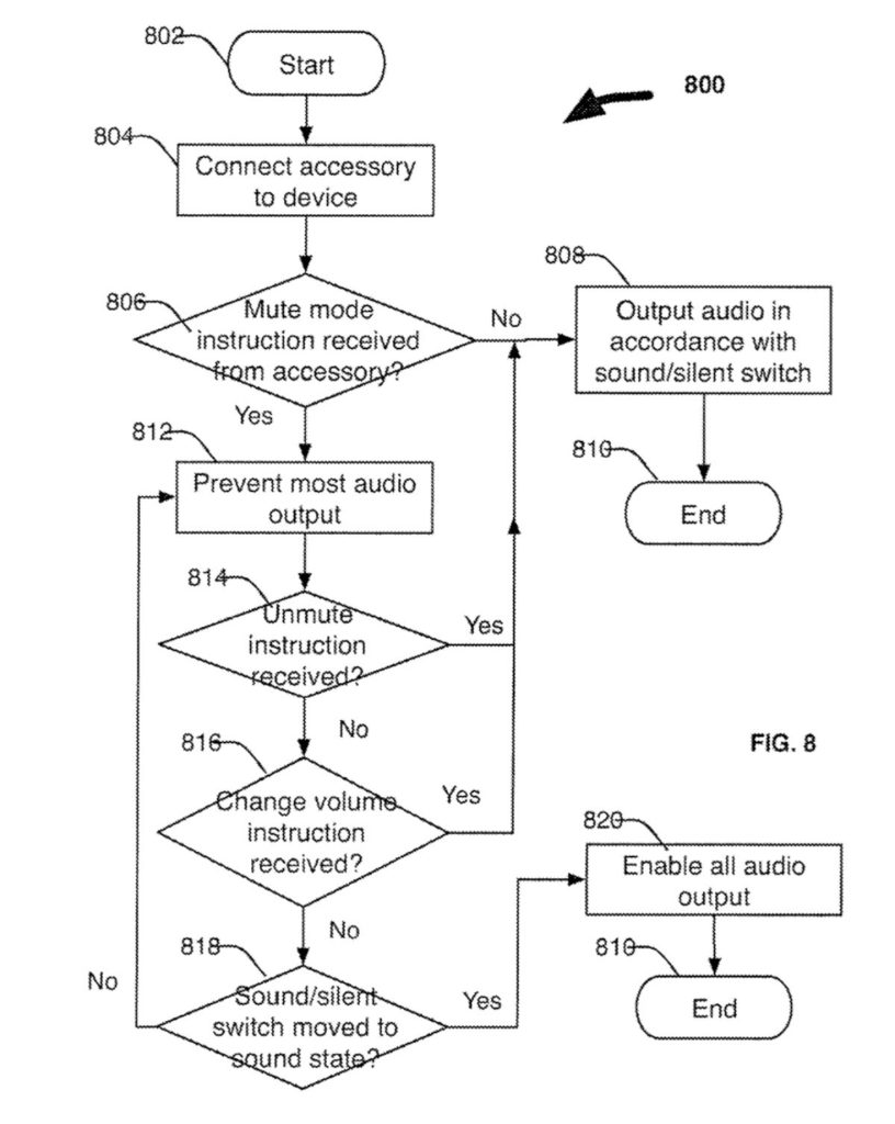
Apple wants its devices to have both sound and silent modes as well as mute and un-mute modes, with seamless interaction between the modes. In some embodiments, the un-mute mode can be the same as the one of the sound and silent modes that’s enabled. The silent mode can be enabled using an interface of the device, while the mute mode can be enabled using an accessory coupled to the electronic device.
Summary of the patent
Here’s Apple’s abstract of the patent: “This is directed to controlling the output of audio based on the mode of an electronic device. In particular, this is directed to an electronic device having a sound mode, silent mode, and mute mode controlling the output of audio along different audio output routes. In the sound mode, all audio can be output, while only registered or authorized audio can be output in the silent mode. In the mute mode, no audio can be output.
“The sound and silent modes can be enabled using an interface of the device (e.g., a switch having two possible states), while the mute mode can be enabled using an accessory coupled to the device. To disengage the mute mode, a user can provide a corresponding instruction using the accessory, or providing an instruction on the device related to volume control. For example, a user can change the device volume using an on-device interface, or toggle a sound/silent switch to a sound mode.”
Article provided with permission from AppleWorld.Today

