Apple has been granted a patent (number 11,360,557) for an “eye tracking system” for the rumored “Apple Glasses,” a mixed-reality device.
About the patent
Virtual reality (VR) allows users to experience and/or interact with an immersive artificial environment, such that the user feels as if they were physically in that environment. For example, virtual reality systems may display stereoscopic scenes to users in order to create an illusion of depth, and a computer may adjust the scene content in real-time to provide the illusion of the user moving within the scene.
Apple says that when the user views images through a virtual reality system, the user may thus feel as if they are moving within the scenes from a first-person point of view. Similarly, mixed reality (MR) combines computer generated information (referred to as virtual content) with real world images or a real world view to augment, or add content to, a user’s view of the world.
The simulated environments of VR and/or the mixed environments of MR may be utilized to provide an interactive user experience for multiple applications, such as applications that add virtual content to a real-time view of the viewer’s environment, interacting with virtual training environments, gaming, remotely controlling drones or other mechanical systems, viewing digital media content, interacting with the Internet, or the like.
An eye tracker is a device for estimating eye positions and eye movement. Eye tracking systems have been used in research on the visual system, in psychology, psycholinguistics, marketing, and as input devices for human-computer interaction. In the latter application, typically the intersection of a person’s point of gaze with a desktop monitor is considered.
Summary of the patent
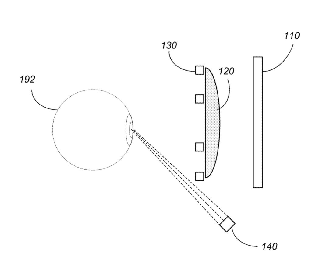
Here’s Apple’s abstract of the patent: “An eye tracking system for detecting position and movements of a user’s eyes in a head-mounted display (HMD). The eye tracking system includes at least one eye tracking camera, an illumination source that emits infrared light towards the user’s eyes, and diffraction gratings located at the eyepieces. The diffraction gratings redirect or reflect at least a portion of infrared light reflected off the user’s eyes, while allowing visible light to pass. The cameras capture images of the user’s eyes from the infrared light that is redirected or reflected by the diffraction gratings.”
About Apple Glasses
When it comes to Apple Glasses, such a device will almost certainly arrive in mid-to-late 2023. It will be a head-mounted display. Or may have a design like “normal” glasses. Or it may be eventually be available in both. The Apple Glasses may or may not have to be tethered to an iPhone to work. Other rumors say that Apple Glasses could have a custom-build Apple chip and a dedicated operating system dubbed “rOS” for “reality operating system.”
Article provided with permission from AppleWorld.Today

