Imagine future Mac laptops without a notch. Imagine them (and desktop Macs, iPhones and iPads) have under-display cameras for Face ID and capturing images. Such tech may be coming as Apple has filed for a patent (number 20220179452) for an “electronic device including a camera disposed behind a display”
About the patent filing
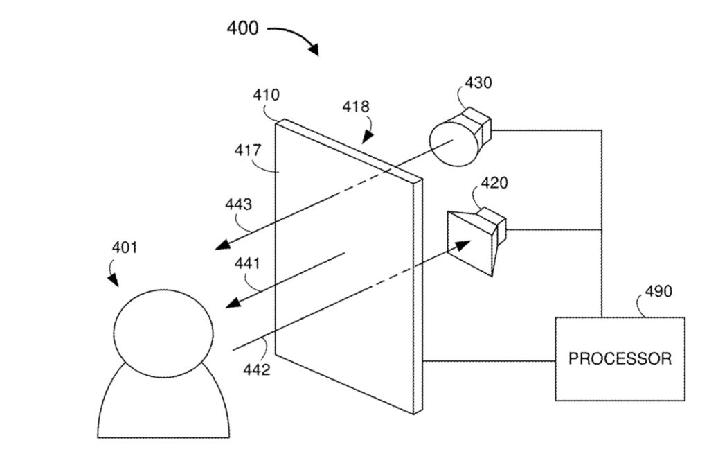
In the patent filing, Apple notes that some electronic devices include a display that displays an image to a user and a camera which captures image of scene in which the user is present. However, the tech giant says that, in some devices, the camera reduces the potential size of the display, as the camera occupies a portion of the front surface of the electronic device preventing the portion from being occupied by the display.
Summary of the patent filing
Here’s Apple’s abstract of the patent filing (with technical details): “In one implementation, an apparatus includes a display having a front surface and a back surface. The display includes a plurality of pixel regions that emit light from the front surface to display a displayed image and a plurality of apertures that transmit light from the front surface to the back surface. The apparatus includes a camera disposed on a side of the back surface of the display.
“The camera is configured to capture a captured image. The apparatus includes a processor coupled to the display and the camera. The processor is configured to receive the captured image and apply a first digital filter to a first portion of the captured image and a second digital filter, different than the first digital filter, to a second portion of the captured image to reduce image distortion caused by the display.”
Article provided with permission from AppleWorld.Today

