In the Apple Watch Series 6 and Series 7, the optical heart sensor has been redesigned to add blood oxygen measurement capabilities. However, Apple has been granted a patent (number 11,350,860) that hints at a second wrist-worn device and method for accurate blood oxygen saturation.
About the patent
Blood oxygen saturation is a vital medical parameter indicative of respiratory health. Blood oxygen saturation levels above 95% (at sea level) are considered normal for individuals without prior pulmonary pathology. Blood oxygen saturation levels below 90% indicate hypoxemia–a serious medical condition. Blood oxygen saturation levels in the mid 80’s and below can be highly dangerous, frequently warranting immediate patient hospitalization.
In the patent, Apple says that, although current medically approved blood oxygen saturation meters are highly accurate, they typically have a cumbersome configuration, thereby inhibiting more ubiquitous monitoring of blood oxygen saturation. For example, blood oxygen saturation measurement devices often include a bulky finger clip into which a finger is inserted.
Apple thinks it can do better with its own device. Or perhaps the tech giant could build such functionality into future Apple Watch bands.
Summary of the patent
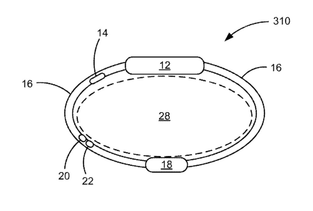
Here’s Apple’s abstract of the patent: “Wrist-worn devices and methods for measuring blood oxygen saturation using a wrist-worn device compute blood oxygen saturation by processing an output signal from one or more photodetectors indicative of absorption of light by a finger interfaced with the one or more photodetectors. A method includes transmitting a first wavelength light into a finger from a first light emitter mounted to a wrist band of the wrist-worn device.
“A second wavelength light is transmitted into the finger from a second light emitter mounted to the wrist band. An output signal indicative of absorption by the finger of the first wavelength light and the second wavelength light is generated by one or more photodetectors interfaced with the finger and disposed on a housing of the wrist-worn device. The output signal is processed with a processor disposed in the housing to compute blood oxygen saturation.”
Article provided with permission from AppleWorld.Today

