Apple has applied for a patent (number 20220147172) for “systems, methods, and computer-readable media for managing collaboration on a virtual work of art.”
About the patent filing
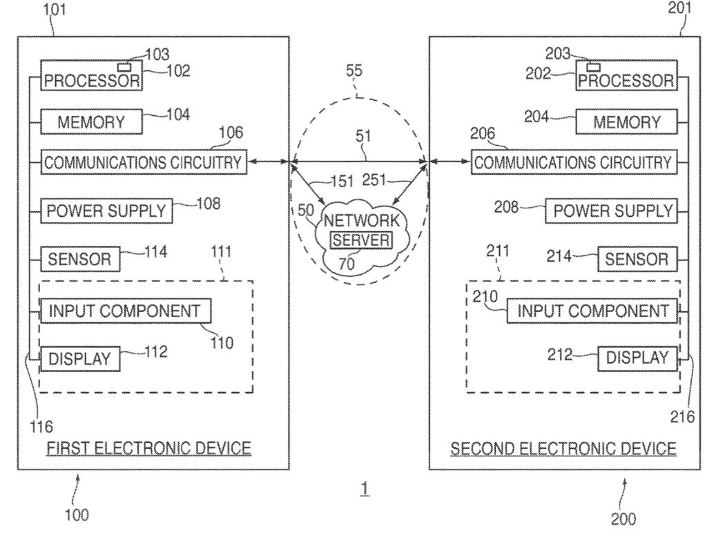
The tech giant wants users to be able to tackle virtual artwork whether using Macs, iPads, or iPhones. In the patent filing, Apple notes that some electronic devices include a graphical display system for generating and presenting graphical objects, such as free-form drawing strokes, images, strings of text, and drawing shapes, on a display to create a virtual work of art. The processing capabilities and interfaces provided to a user for creating such works of art often vary between different types of electronic devices.
However, the ways in which two or more electronic devices may allow one or more users to collaborate on a single virtual work of art may be confusing or inefficient. Apple wants to change this.
The company’s idea: a virtual work of art may be simultaneously loaded by and presented on two or more electronic devices in a communications network, such that any change made to the artwork by a user interaction with any one of the devices may be reflected in the artwork on all of the devices.
Each device may have different user interfaces and processing capabilities, such that the strengths of each device may be leveraged by one or more users to collaborate on the artwork in an efficient and intuitive manner.
Apple says a user’s interaction with a virtual drawing application running on each device may be utilized to generate one or more input commands for editing the artwork. Each input command may be processed to generate pixel array data that can present the graphical object content of the artwork.
Each device may receive each input command generated by each of the other devices in the communications network, and each device may be similarly configured to process each received input command in a consistent manner, such that the artwork may be updated with the same pixel array data on each of the devices.
Summary of the patent filing
Here’s Apple’ abstract of the patent filing: “Systems, methods, and computer-readable media for managing collaboration on a virtual work of art between multiple electronic devices are provided. A first graphical display system of a first device may generate an input command in response to receiving user information through a user interface of the first device, and may then share this input command with a second graphical display system of a second device.
“The first graphical display system may process the shared input command to generate pixel array data in a canvas of the first device while the second graphical display system may process the shared input command to generate pixel array data in a canvas of the second device. By sharing input commands rather than pixel array data, system latency may be reduced. Despite operating on the same artwork, the user interfaces and graphical processing capabilities of each device may vary, thereby providing the user greater expressiveness.”
Article provided with permission from AppleWorld.Today

