An “Apple Car” could sport MagSafe technology in its charging system as hinted at by a newly granted Apple patent (number 11,325,491). The patent is dubbed “charging station with passive alignment mechanism.”
About the patent
An Apple Car might have an iteration of the MagSafe tech on newer iPhones. Apple says that MagSafe “improves wireless charging for a better, more efficient experience and introduces an ecosystem of easy-to-attach accessories that beautifully complement iPhone 12 Pro models.” It features an array of magnets around the wireless charging coil that connect to the iPhone.
An Apple Car will almost certainly be an electric vehicle that wil, of course, need charging. Some electric vehicles include battery packs that are recharged using a charging station when the vehicle is not being driven.
The charging station may receive electrical power from a power grid. One common design for connecting an electrical vehicle to a charging station utilizes a charging port of the vehicle and a charging cable of the charging station. The charging cable is manually connected to the charging port, typically by the operator of the vehicle, upon exiting the vehicle.
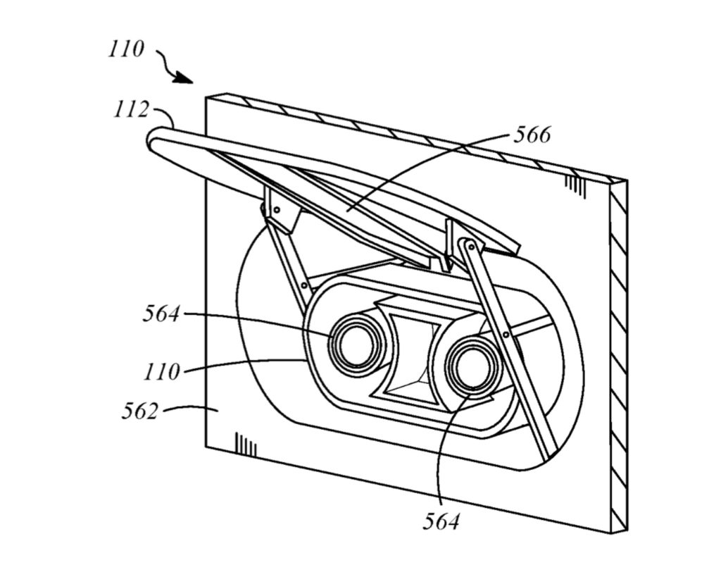
However, Apple wants its vehicle to having a charging system with a very solid connection. The company’s idea is for a charging plug connected to a passive alignment mechanism (a charging station) by a rotationally compliant connector that allows motion of the charging plug in at least one degree of rotational freedom. The rotationally compliant connector may include a ball joint.
Summary of the patent
Here’s Apple’s abstract of the patent: “A charging station for an electric vehicle includes a passive alignment mechanism that includes a longitudinal translation stage that allows motion in a longitudinal direction, a charging plug connected to the passive alignment mechanism, and a releasable connector.
“The releasable connector resists motion of the longitudinal translation stage in a connected position when a magnitude of an external force applied in the longitudinal direction is below a threshold. The releasable connector moves from the connected position to a released position to allow motion of the longitudinal translation stage when the magnitude of the external force applied in the longitudinal direction is above the threshold.”
Which might we see an Apple Car?
On. Nov. 18, 2021, Bloomberg reported that Apple is accelerating development on its “Apple Car.” The article says the electric vehicle will be self-driving and could roll out in 2025.
What’s more, in a note to clients — as noted by AppleInsider — investment bank Wedbush says Apple is likely to announce a strategic electric vehicle partnership in 2022 to lay the groundwork for an “Apple Car” release in 2025.
Article provided with permission from AppleWorld.Today

