Apple wants to make it even easier to share music and music info among different users. The company has filed for a patent (number 20220109720) for “network-assisted remote media listening.”
About the patent filing
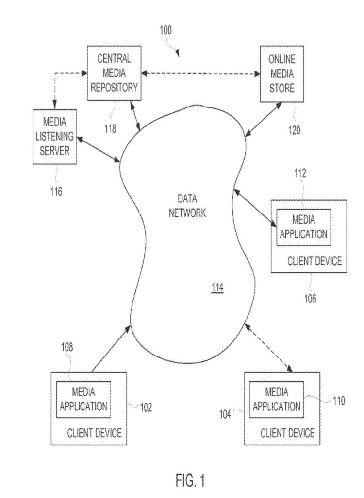
In the patent filing Apple notes that media playback/management applications, such as iTunes, can operate on client devices, such as personal computers and desktop computers. iTunes can also permit users to share media assets from one client device to another by way of a local network connection. In addition, handheld media players, such as the iPod touch, are used to provide mobile media playback for users.
Apart from media playback/management applications or media players, social networking websites permit users to establish their own virtual space and associate with friends. The virtual space for a particular user can be customized by the user to provide text, audio, and/or images (photos, video). Visitors, sometimes only authorized users (e.g., friends), can access the virtual spaces.
Apple says that, unfortunately, conventional media playback/management apps have little or no concept of social networking. Social networking websites also tend not to have any concept of traditional media storage, management and playback as provided by media playback/management applications. Apple says that, “consequently, there is a need for inter-relating media management/playback applications with social networking concepts.”
Summary of the patent filing
Here’s Apple’s abstract of the patent filing with technical details: “Improved approaches for media listening amongst different users are disclosed. For example, methods, systems or computer program code can enable users to have a remote listening experience in real time. Advantageously, a remote user at a remote client device can in effect listen to a particular digital media asset that is being played at a local client device of a local user. Media information and/or user profiles can also be provided about themselves and shared with other users.”
Article provided with permission from AppleWorld.Today

