Apple has been granted a patent (number 11,287,779) for a “modular system for a watch.” It would offer more functionality for the Apple Watch.
About the patent
In the patent, Apple notes that electronic devices that can be worn on a user’s wrist and do more than act as a simple time piece are growing in popularity. For example, some wearable electronic devices include one or more sensors to measure various characteristics of the user and/or the environment in which the device operates.
The devices may also include accelerometers and one or more sensors that enable a user to track fitness activities and health-related characteristics, such as heart rate, blood pressure, and body temperature, among other information.
Apple says that, however, space, cost, and other considerations may limit the ability to provide every component that might provide a desired function. For example, different users may have different preferences regarding the components and functions that are provided by a given watch.
Some users may desire certain health tracking capabilities, while other users may desire long battery life. What’s more, a given user may desire different components and functions at different times. For example, a given user may desire health monitoring components and functions during exercise and components having certain cosmetic features during social activities.
Apple thinks an Apple Watch designed with modularity in mind would address such issues.
Summary of the patent
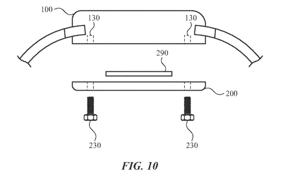
Here’s Apple’s abstract of the patent with technical details: “Wearable electronic devices, such as watches, can be part of a modular system that provides a variety of different components and functions to achieve the results that are desired by a user.
“The modular configurations allow a user to easily customize a watch with one or more functional modules to provide features that integrate with other operations of the body of the watch. The functional modules can be easily exchanged with each other to provide different components and functions at different times. Accordingly, a watch body need not include permanent components that provide every function that will later be desired by the user. Instead, the watch can have expanded and customizable capabilities by the use of one or more functional modules.”
Article provided with permission from AppleWorld.Today

