Apple Mask, anyone? A newly granted patent (number 11,290,818) shows that Apple is looking into a sleep mask with speakers and sensors.
About the patent filing
Electronic devices such as headphones may be worn by people who desire to listen to audio content. Headphones may not, however, be comfortable for napping or wearing for long periods of time.
Apple’s idea is for a wearable electronic device and an associated portable electronic device or other host device such as a cellular telephone or computer.
The wearable electronic device may gather biometric data from a user while playing audio for the user with speakers or other audio transfer components (e.g., bone conduction transducers that play audio for the user via bone conduction). Biometric data gathered with the wearable electronic device may be transferred to the host device so that reports on the user’s biometric data may be displayed for the user.
In other words, a sleeper would wear the Apple Mask, which would play tunes when paired with, for instance, an iPhone or iPad.
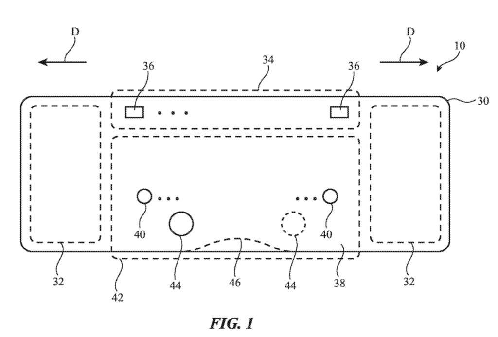
The Apple Mask could be formed from a layer of fabric. The fabric may have opposing first and second ends that are configured to receive a user’s ears while the fabric covers the user’s eyes. The ends may have ear openings with triangular edge portions that receive the user’s ears.
The Apple Mask could also sport control circuitry that receives power from a power source. Sensors may be used to gather sensor information such as biometric sensor information.
The sensors, control circuitry, and power source may be mounted in a stiff edge portion of the fabric. The stiff edge portion of the fabric may have an elongated strip shape and may extend along an upper edge of the central portion of the fabric. Stiffener structures that are between inner and outer layers of the fabric may be used to support the speakers.
Summary of the patent filing
Here’s Apple’s abstract of the patent filing with technical details: “A wearable electronic device may be formed from a layer of fabric having opposing first and second ends. The ends may have first and second respective ear openings that receive a user’s ears and may have speakers for playing audio. A soft central portion of the fabric between the ends may overlap the user’s eyes.
“The wearable electronic device may have control circuitry that receives power from a power source. Sensors may be used to gather sensor information such as biometric sensor information. The sensors, control circuitry, and power source may be mounted in a stiff edge portion of the fabric. The stiff edge portion of the fabric may have an elongated strip shape and may extend along an upper edge of the central and the electronic device. Stiffener structures sandwiched between inner and outer layers of the fabric may be used to support speakers.”
Article provided with permission from AppleWorld.Today

