Apple plans to beef up the health/fitness features of the Apple Watch with enhanced abilities to work with fitness machines. In fact, in a new patent filing (number 20220079452) the tech giant describes it as a “wearable computer” (which, of course, it is) rather than a smartwatch.
About the patent filing
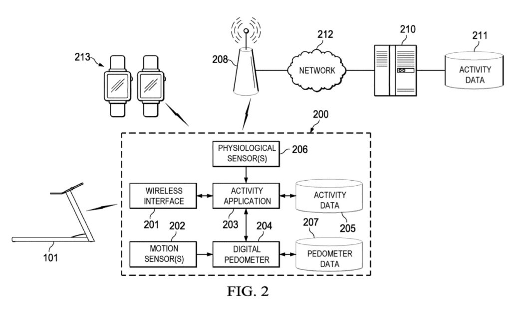
The patent filing is dubbed “wearable computer with fitness connectivity for improved activity monitoring using caloric expenditure models.” In the patent filing Apple notes that some wearable computers (e.g., smartwatch, fitness band) include a fitness application that uses a digital pedometer to track a user’s daily movements and provide custom notifications related to progress and workout results, such as distance traveled and calories burned.
Some fitness applications also monitor the user’s heart rate, which can be used to calculate calories burned. A typical digital pedometer relies on accelerometer data from an accelerometer to determine when a step is taken.
If the wearable computer is worn on the wrist, accelerations due to arm swing are used to determine step counts. However, Apple notes that these steps counts can be inaccurate (e.g., due to irregular or muted arm swings) resulting in inaccurate distance traveled measurements. The heart rate can be measured using an optical sensor embedded in the wearable computer.
When a user works out in a gym, they will often use a fitness machine that includes a processor that monitors the workout and generates fitness metrics summarizing the workout. For example, a treadmill may display to the user the total distance traveled, elapsed time and total calories burned during the workout.
Apple says the total distance traveled is typically accurate because it is based on rotation of the treadmill motor shaft rather than accelerometer data, but the total calories burned is often an estimate based on a model that does not include the actual heart rate of the user, or in the case of anaerobic calorie burn, can’t be observed through the heart rate.
Apple apparently feels the Apple Watch can do better in tracking fitness levels — especially when used in sync with fitness machines such as treadmills, rowing machines, etc.
Summary of the patent filing
Here’s Apple’s abstract of the patent filing with technical details: “In an embodiment, a method comprises: establishing, by a wireless wearable computer worn by a user, a wireless communication connection with a fitness machine; obtaining machine data from the fitness machine while the user is engaged in a workout session on the fitness machine; obtaining, from a heart rate sensor of the wireless device, heart rate data of the user; determining a work rate caloric expenditure by applying a work rate calorie model to the machine data; determining a calibrated maximal oxygen consumption of the user based on the heart rate data and the work rate caloric expenditure; determining a heart rate caloric expenditure by applying a heart rate calorie model to the heart rate data and the calibrated maximal oxygen consumption of the user; and sending to the fitness machine via the communication connection, at least one of the work rate caloric expenditure or the heart rate caloric expenditure.”
Article provided with permission from AppleWorld.Today

