Apple has been granted a patent (number 11,270,486) for “electronic drawing with handwriting recognition.”
About the patent
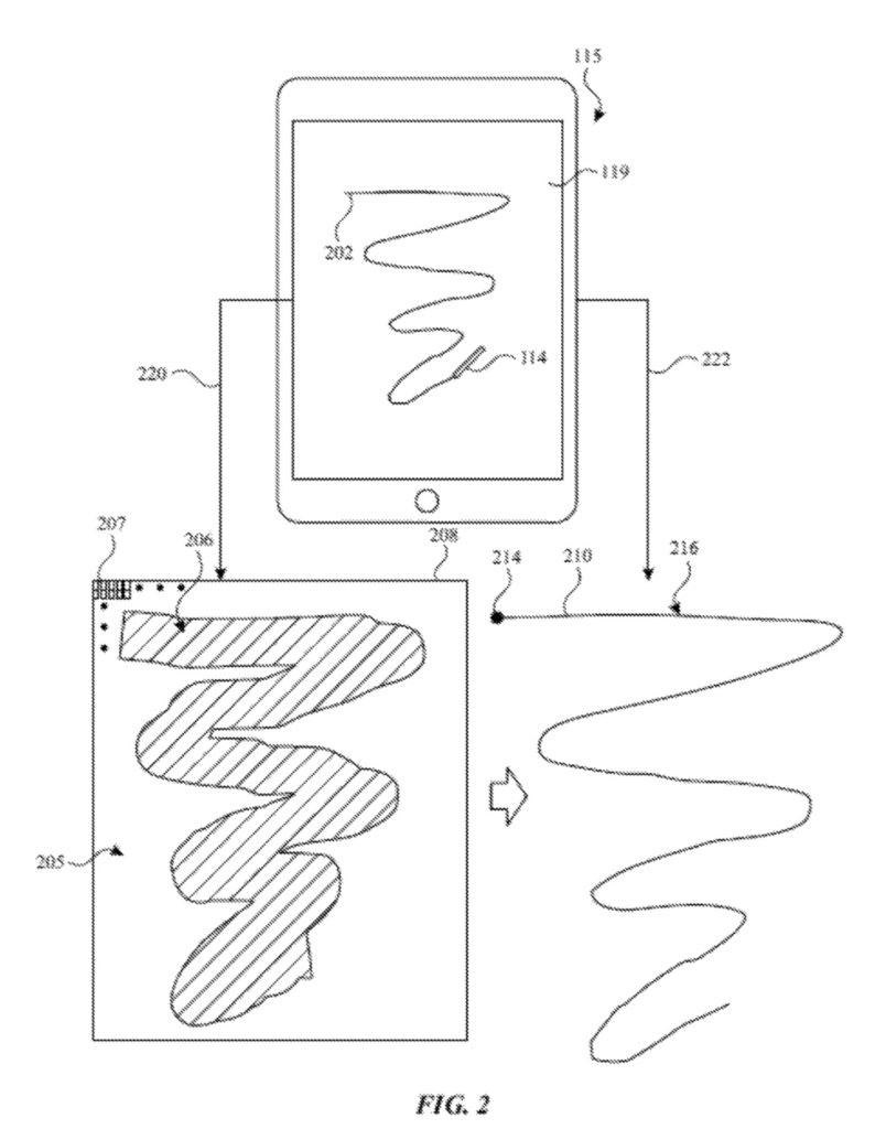
In the patent filing, Apple notes that some electronic devices provide electronic drawing capabilities by which a user can enter drawing input using their finger on a touchscreen or touchpad, or using a stylus device on the touchscreen or touchpad, on a surface, or in three-dimensions in the air. The most obvious example is the iPad/Apple Pencil combo.
The drawing input is stored in memory and can be displayed for viewing by the user, on a display of the electronic device. Apple wants to up the ante by allowing electronic drawings to include handwriting that’s instantly recognized and responded to.
Summary of the patent
Here’s Apple’s abstract of the patent with technical details: “Aspects of subject technology provide systems and methods for electronic drawing with handwriting recognition. An electronic device may include one or more processors configured to receive a modification input to an object rendered on a display, and to perform a first re-rendering of the object on the display based on the modification input. The one or more processors may further be configured to generate at least one polygon-based representation of the object based on the modification input, and to perform, based on the at least one polygon-based representation, a second re-rendering of the object on the display.”
Article provided with permission from AppleWorld.Today

