Apple has been granted a patent (number 11,272,308) for a “file format for spatial audio.”
What is spatial audio?
On May 17, 2020, Apple announced that Apple Music is bringing “industry-leading sound quality” to subscribers with the addition of Spatial Audio with support for Dolby Atmos. Spatial Audio with support for Dolby Atmos and Lossless Audio is available to Apple Music subscribers at no additional cost. The company says Spatial Audio gives artists the opportunity to create immersive audio experiences for their fans with true multidimensional sound and clarity.
About the patent
In the patent data, Apple says that producing three-dimensional (3D) sound effects in augmented reality (AR), virtual reality (VR), and mixed reality (MR) applications is challenging because existing audio formats were originally designed for producing 3D sound in a physical environment with fixed speaker locations and stationary listeners, such as in a movie theater. Examples of spatial audio formats designed to produce 3D sound include MPEG-H (Moving Picture Experts Group) 3D Audio standards, HOA (Higher-order Ambisonics) spatial audio techniques, and DOLBY ATMOS surround sound technology.
One alternative for producing 3D sound effects in SR environments is to manipulate individual discrete sounds contained in audio objects that can be virtually located anywhere in the 3D environment. However, Apple says that composing audio for simulated reality (SR) applications using existing spatial audio formats and objects is difficult since there’s no uniform way to access a variety of sound sources and incorporate them into a dynamic SR environment. The tech giant apparently thinks that a file format of spatial audio could be the answer.
Summary of the patent
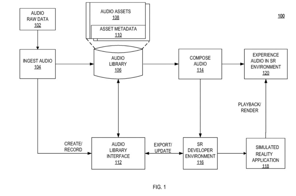
Here’s Apple’s abstract of the patent with technical details: “An audio asset library containing audio assets formatted in accordance with a file format for spatial audio includes asset metadata that enables simulated reality (SR) application developers to compose sounds for use in SR applications. The audio assets are formatted to include audio data encoding a sound capable of being composed into a SR application along with asset metadata describing not only how the sound was encoded, but also how a listener in SR environment experiences the sound.
“A SR developer platform is configured so that developers can compose sound for SR objects using audio assets stored in the audio library, including editing the asset metadata to include transformation parameters that support dynamic transformation of the asset metadata in the SR environment to alter how the SR listener experiences the composed sound. Other embodiments are also described and claimed.”
Article provided with permission from AppleWorld.Today

