Apple has filed for another patent that hints at future health devices such as a blood pressure cuffs or more fully featured Apple Watch bands. Previous patent filings include number 20220015652, as well as two (number 20210393152 and number 20210321889) that suggest future Apple Watch bands that could double as inflatable/stretchable blood pressure cuffs.
About the patent filing
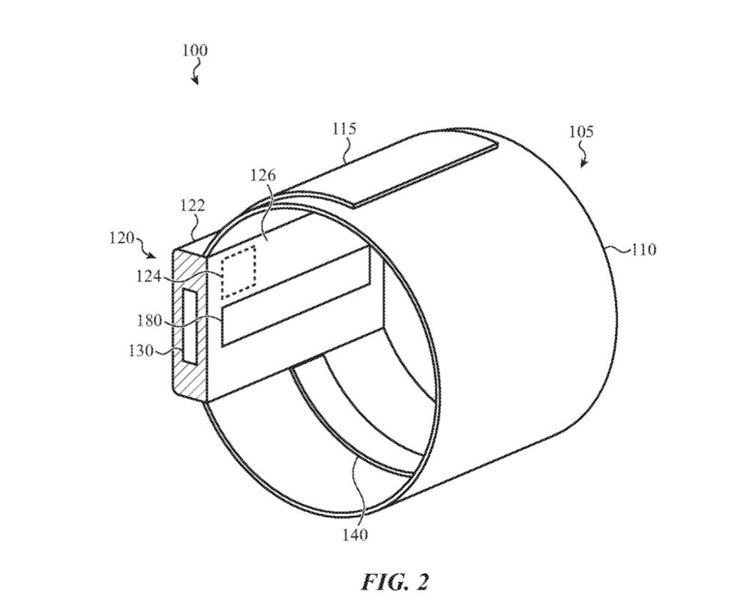
The latest patent filing (number 20220054020) is dubbed “blood pressure measurement using device with piezoelectric sensor.” In it Apple bites that many traditional devices for determining blood pressure use audio sensors (e.g., microphones) to detect audio signals related to blood flow through blood vessels. Audio sensors may be capable of receiving audio signals at a relatively small area of a user’s limb, and accordingly, traditional blood pressure devices may be highly sensitive to where they are placed and prone to errors.
Apple wants to overcome such issues. My money would be on an Apple Watch with blood pressure measurement features rather than a standalone “iCuff.”
Summary of the patent filing
Here’s Apple’s abstract of the patent filing: “Ablood pressure measurement device may include one or more piezoelectric sensors (e.g., differential piezoelectric sensors) for detecting blood flow through a limb of a user as part of determining blood pressure measurements. The piezoelectric sensor(s) may additionally or alternatively be used to determine one or more biological parameters of users (e.g., a ballistocardiogram, a heart rate, a heart rate variability, and a pulse wave velocity).
“The blood pressure measurement device may additionally or alternatively include a capacitive sensor for determining a pressure applied to the limb of the user by the blood pressure measurement device and/or operational states of the blood pressure measurement devices (off-arm, on-arm, inflating, deflating, tightness, and the like).”
Article provided with permission from AppleWorld.Today

