Apple has filed for a patent (number 20220060210) for an “electronic device that provides battery charging status.” It involves a future iPad case that could show the battery status for the iPad and any paired accessories.
About the patent filing
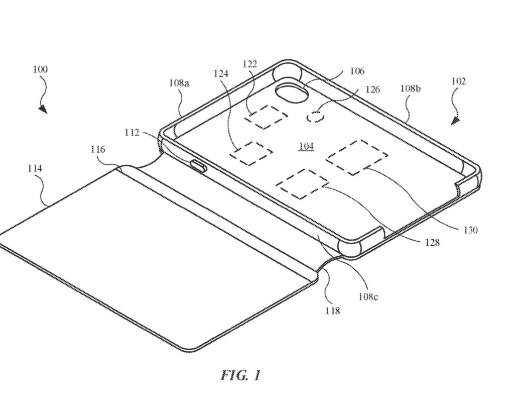
The patent filing relates to accessory devices, such as cases and folios, used with portable electronic devices, such as smartphones and tablet computing devices. Such accessory devices could be equipped with wireless circuitry used to communicate with the devices and detect paired accessories. The case/folio could then show how much juice the iPad and its peripherals have and alert you if any of them need recharging.
Summary of the patent filing
Here’s Apple’s abstract of the patent filing with the technical details: “An accessory device may include a receptacle for receiving an electronic device. The accessory device may include a case that covers the housing of the electronic device, or a folio that additionally includes a cover can conceal the display of the electronic device. Accessory devices described herein further include wireless circuitry used to communicate with wireless circuitry in the electronic device. The wireless circuitry can be used for various functions and features.
“For instance, the wireless circuitry in the accessory device can respond to authentication requests from the electronic device, and/or to send authentication requests to the electronic device. Further, the wireless circuitry in the accessory device can send information to the electronic device. Such information may include properties of the accessory device, or information stored on the accessory device that is presented on a display of the electronic device.”
Article provided with permission from AppleWorld.Today

