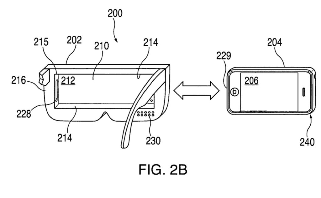
There’s been speculation that the first version of the “Apple Glasses” — Apple’s rumored augmented reality/virtual reality headset — will be powered by an iPhone. A newly granted patent (number 11,258,891) for a “head-mounted display apparatus for retaining a portable electronic device with display” thinks that this may be true.
About the patent
The patent suggests that Apple Glasses would be tethered to an iPhone or perhaps an iPod touch. The connection could be wireless, which means the two devices might now have to be physically connected.
This would make the headset much lighter if the smartphone is powering it wirelessly. An Apple Glasses head-mounted display carrying a connected iPhone would be a bit hefty and uncomfortable. That said, the ad does mention a wired connection, so both wired and wireless options may be offered.
Summary of the patent
Here’s Apple’s abstract of the patent with the technical details: “Head-mounted display systems and methods of operation that allow users to couple and decouple a portable electronic device such as a handheld portable electronic device with a separate head-mounted device (e.g., temporarily integrates the separate devices into a single unit) are disclosed. The portable electronic may be physically coupled to the head-mounted device such that the portable electronic device can be worn on the user’s head.
“The portable electronic device may be operatively coupled to the head-mounted device such that the portable electronic device and head mounted device can communicate and operate with one another. Each device may be allowed to extend its features and/or services to the other device for the purpose of enhancing, increasing and/or eliminating redundant functions between the head-mounted device and the portable electronic device.”
Article provided with permission from AppleWorld.Today

