There have been rumors that Apple is considering a HomePod with a built-in display. A new Apple patent filing (number 20220042676) for an “electronic device with visual feedback” adds credence to this rumor.
About the patent filing
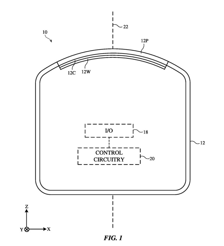
In the patent filing, Apple notes that electronic devices such as voice-controlled assistant devices (which would include the current HomePod mini and the discontinued HomePod) could include light-emitting components. During operation, the light-emitting component may emit patterns of light that serve as visual feedback.
The feedback could help confirm to a user that an electronic device is operating as desired. However, Apple says that it’s challenging to incorporate light-emitting components into an electronic device. If care isn’t taken, the patterns of light that are emitted won’t appear as intended, the appearance of the device may not be as desired, or the device may be overly bulky.
Apple apparently wants to change this. The tech giant may be working on a HomePod akin to the Google Nest Hub Max. If so, I touch incorporate a touchscreen for FaceTime calls and further HomeKit integration.
Summary of the patent filing
Here’s Apple’s abstract of the patent with the technical details: “An electronic device such as a voice-controlled speaker device may have a housing. A speaker and other input-output components and control circuitry may be mounted within the housing. Light-emitting components may emit light that passes through a curved upper top cap portion or other housing structure. The light-emitting components may be interconnected using a flex circuit on a curved substrate or may be mounted on a planar circuit board.
“A subset of the light-emitting components may be rotated to improve color balance. Optical structures such as light guides, lens, microlenses, and/or a diffuser layer may be disposed over the light-emitting components to promote light mixing, to reduce hotspots, and to improve contrast on the top cap. The diffuser layer may be suspended using a support structure having baffle members to constraint the angular spread of the emitted light. Illuminated or persistently visible glyphs may be displayed in or near the top cap portion.”
Article provided with permission from AppleWorld.Today

