Let the Apple Car rumors roll on. Apple has been granted a patent (number 11,214,180) for a “vehicle seat with reclining mechanism.”
About the patent
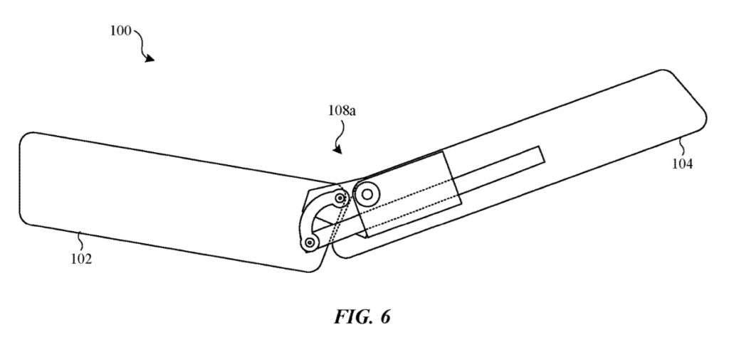
Vehicle seats are often two-part structures that include a seat base and a seat back that extends upward from the seat base. The seat back is often connected to the seat base by a reclining mechanism that allows the seat back to pivot with respect to the seat base.
Reclining mechanisms in vehicle seats typically allow the seat back to pivot with respect to the seat base around a pivot joint at which a frame member of the seat back is pivotally connected to a frame member of the seat base. The recline angle of the seat back relative to the seat base may be adjusted using the reclining mechanism while a passenger is sitting in the seat.
During adjustment of the recline angle, the passenger’s upper body rotates with respect to their lower body, typically around a point near the passenger’s pelvis. Apple says that because this point is not aligned with the pivot point around which the seat back rotates, the passenger’s back will slide with respect to the seat back.
Apple’s idea is for vehicle seats that include reclining mechanisms that include pivoting motion and sliding motion of the seat back with respect to the seat base. The seats would be configured to reduce the distance by which the passenger’s back slides with respect to the seat back during adjustment of the recline angle of the seat back relative to the seat base.
Summary of the patent
Here’s Apple’s abstract of the patent: “A vehicle seat includes a seat back, a seat base, a base structure that is connected to the seat base, a guide structure, and a primary pivot joint that connects the guide structure to the base structure so that the guide structure is able to rotate with respect to the base structure to change a recline angle of the seat back with respect to the seat base.
The vehicle seat also includes a slide structure that is connected to the seat back and has a sliding connection to the guide structure, and a link that connects the seat back to the seat base so that the slide structure slides with respect to the guide structure during rotation of the guide structure with respect to the base structure.”
When might we see an Apple Car?
On. Nov. 18, Bloomberg reported that Apple is accelerating development on its “Apple Car.” The article says the electric vehicle will be self-driving and could roll out in 2025.
What’s more, in a note to clients — as noted by AppleInsider — investment bank Wedbush says Apple is likely to announce a strategic electric vehicle partnership in 2022 to lay the groundwork for an “Apple Car” release in 2025.
Article provided with permission from AppleWorld.Today

