Apple has been granted a patent (number 11,210,816) for “transitional effects in real-time rendering applications.” It involves the rumored “Apple Glasses,” an augmented reality/virtual reality head-mounted display (HMD).
Summary of the patent
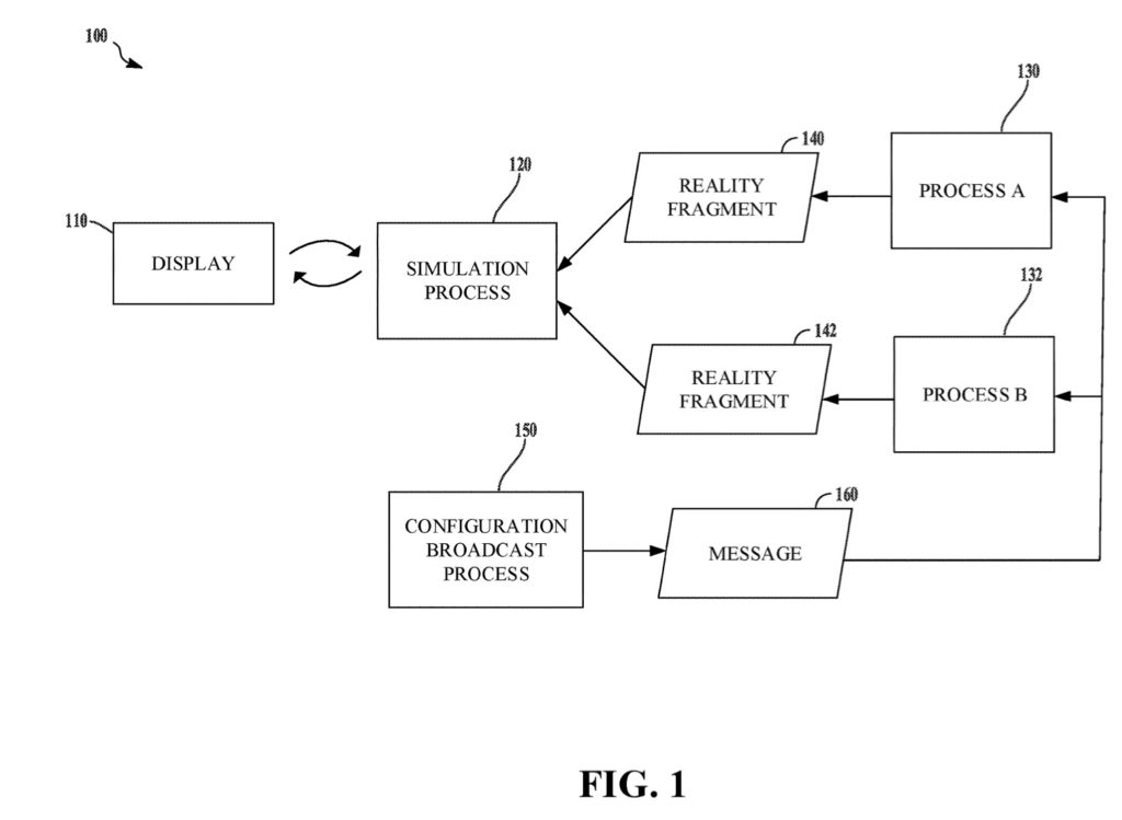
In the patent filing, Apple notes that real-time rendering applications may be used to present views to a user of a virtual environment including objects. Views of the virtual environment may be presented to a user via a display, such as a head-mounted display.
Changing the properties of the virtual environment may involve recoding multiple processes associated with multiple objects that interact in the virtual environment. Apple wants the rendering of transitional effects on its HMD to be as seamless and smooth as possible.
Summary of the patent
Here’s Apple’s abstract of the patent: “Systems and methods for transitional effects in real-time rendering applications are described. Some implementations may include rendering a computer-generated reality environment in a first state using an application that includes multiple processes associated with respective objects of the computer-generated reality environment; generating a message that indicates a change in the computer-generated reality environment; sending the message to two or more of the multiple processes associated with respective objects of the computer-generated reality environment; responsive to the message, updating configurations of objects of the computer-generated reality environment to change the computer-generated reality environment from the first state to a second state; and rendering the computer-generated reality environment in the second state using the application.”
About Apple Glasses
When it comes to Apple Glasses, such a device will arrive in 2022 or 2023, depending on which rumor you believe. It will be a head-mounted display. Or may have a design like “normal” glasses. Or it may be eventually be available in both. The Apple Glasses may or may not have to be tethered to an iPhone to work. Other rumors say that Apple Glasses could have a custom-build Apple chip and a dedicated operating system dubbed “rOS” for “reality operating system.”
Article provided with permission from AppleWorld.Today

