Future Apple TV remote controls could be equipped with Touch ID as evidenced by a newly granted Apple patent (number 11,210,884) for an “electronic device operation using remote user biometrics.”
Such a remote would allow allow different users to turn on an Apple TV set-top box with their preferences automatically appearing onscreen. It would also prevent a child from accessing adult material on the TV since the remote would respond to the child’s fingerprint. Finally, it would allow users to log into their TV services without having to manually enter a password.
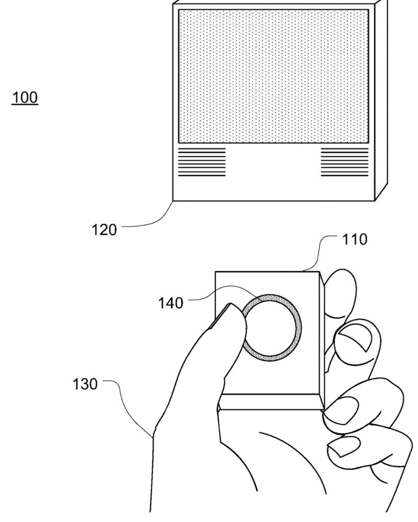
About the patent
In the patent filing, Apple says that manually controllable features of electronic devices may provide a personalized experience for a user. However, many electronic devices may be intended to be enjoyed by multiple users. For example, multiple members of a household may share a single television.
Apple says that, in many cases, preferences may differ from user to user. In some examples, alterations to electronic device settings made by a first user may diminish the quality of the experience of a second user. What’s more, some electronic devices may include features or options inappropriate for some users to modify or enable. In many cases, electronic devices may include access limitation features such as passcodes or passwords to prevent inappropriate modification of settings. For example, a television may require a passcode to tune particular channels. In still other examples, a home security system may require a password to cancel a false alarm.
However, Apple says that remembering and correctly communicating passwords or passcodes to enjoy limited access features of electronic devices may diminish the quality of the experience of an authorized user. In certain cases, the user may be additionally frustrated when directed to enter a passcode or password via a small remote control or a compact input panel.
In other examples, a user with limited access may undesirably obtain passcodes or passwords to access features that the user is not permitted to enjoy. (We’re looking at you, kiddos). What’s more, if a password or passcode is lost, forgotten, or discovered, a time-consuming and burdensome re-authorization process may be required of a previously authorized user.
Accordingly, Apple says there’s a need for a remote having improved limited access features.
Summary of the patent
Here’s Apple’s abstract of the patent: “An electronic device having at least one operational setting, such as a power setting, with at least a first state and a second state. The electronic device may also include an access controller that can receive state data and authorization data from an external source such as a remote control. The access controller may enable a state of the operational setting upon receipt of proper authorization data received from or related to the output from at least one biometric sensor associated with the remote control.”
Article provided with permission from AppleWorld.Today

