The Apple Pencil may one day be able to sketch virtual objects, as hinted in a new Apple patent filing (number 20210833613) for a “method and device for sketch-based placement of virtual objects.”
About the patent filing
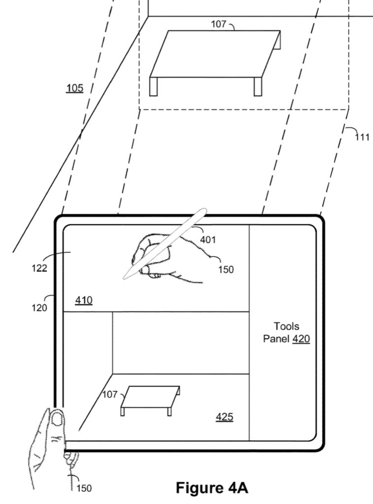
Apple notes that, in some instances, a user may populate their computer-generated room by selecting virtual objects from a pre-existing library. However, this limits the customizability of the computer-generated room. Apple wants users to be able to use the Apple Pencil to create sketch-based placement of virtual objects.
However, various features illustrated in the drawings may not be drawn to scale. Apple notes that, accordingly, the dimensions of the various features may be arbitrarily expanded or reduced for clarity. In addition, some of the drawings may not depict all of the components of a given system, method, or device.
Summary of the patent filing
Here’s Apple’s abstract of the patent filing: “In some implementations, a method of sketch-based placement of computer-generated graphical objects is performed at a device including one or more cameras and non-transitory memory coupled to one or more processors. The method includes obtaining an input directed to a content creation interface (e.g., a sketchpad), wherein the input corresponds to a sketch of a candidate object, and wherein the content creation interface facilitates creation of computer-generated graphical objects presentable using the device.
“The method also includes: obtaining a three-dimensional (3D) model using the input that corresponds to the sketch of the candidate object; generating a computer-generated graphical object using the obtained 3D model; and causing presentation of the computer-generated graphical object together with imagery obtained using the one or more cameras of the device.”
Article provided with permission from AppleWorld.Today

