Apple wants its Animoji and Emoji — and other types of avatars — to be able to be displayed in 3D, as evidenced by a new patent filing (number 20210382544) for “presenting avatars in three-dimensional environments.” What’s more, the patent involves methods of displaying augmented reality/virtual reality scenes on Macs and iPads.
Animojis allow a user to choose an avatar (e.g., a puppet) to represent themselves. The Animoji can move and talk as if it were a video of the user. Animojis enable users to create personalized versions of emojis in a fun and creative way, and Memoji is the name used for iOS’s personalized “Animoji” characters that can be created and customized right within Messages by choosing from a set of inclusive and diverse characteristics to form a unique personality.
About the patent filing
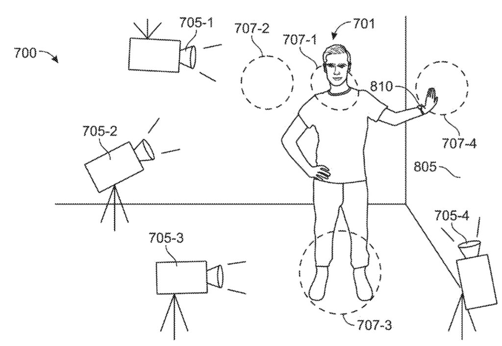
The patent filing involves computer systems — likely Macs and iPads — that communication with a with a display generation component and one or more input devices that provide computer-generated experiences. This includes electronic devices that provide virtual reality and mixed reality experiences via a display. Which is likely the rumored “Apple Glasses,” an augmented reality/virtual reality headset.
In the patent filing, Apple notes that the development of computer systems for augmented reality (AR) has increased significantly in recent years. Examples of AR environments include at least some virtual elements that replace or augment the physical world.
Apple wants Macs, iPads, and perhaps other electronic devices to interact with AR/VR scenes via input devices, such as cameras, controllers, joysticks, touch-sensitive surfaces, and touch-screen displays This would allow them too work with virtual elements such as avatars, digital images, video, text, icons, and control elements such as buttons and other graphics.
Summary of the patent
Here’s Apple’s abstract of the patent filing: “In some embodiments, a computer system receives data representing a pose of at least a first portion of a user and causes presentation of an avatar that includes a respective avatar feature corresponding to the first portion of the user and presented having a variable display characteristic that is indicative of a certainty of the pose of the first portion of the user.
“In some embodiments, a computer system receives data indicating current activity of one or more users is activity of a first type and, in response, updates a representation of a user having a first appearance based on a first appearance template. The system receives second data indicating current activity of the one or more users and, in response, updates the appearance of the representation of the first user based on the current activity of the one or more users using the first or a second appearance template.”
Article provided with permission from AppleWorld.Today

