The Apple Watch Series 7 is available in 41mm and 45mm sizes compared to 40mm and 44mm for the Series 6. Is that big enough? Maybe not. And Apple has filed for a patent (number 20210325932) that hints at even bigger smartwatch faces.
Analyst Ross Young has tweeted that we may see three sizes of Apple’s smartwatch next year, kindling a “bigger display on Series 8.” He doesn’t say what those sizes will be be.
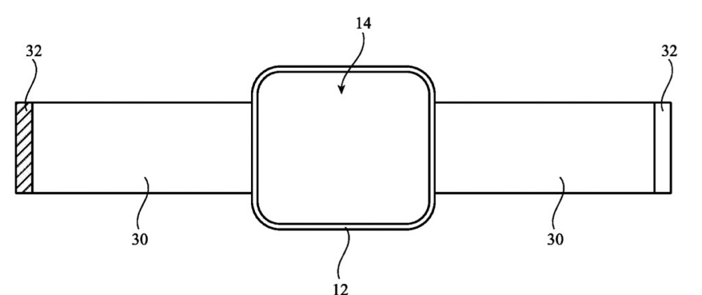
Apple’s idea seems to be for an Apple Watch with a flexible display. The screen may have a flexible display layer covered by a protective display cover layer. The flexible display layer may be an organic light-emitting diode display layer or other layer with a flexible substrate. The display cover layer may be formed from a layer of glass, clear polymer, or other protective material.
What’s more, Apple says the flexible display layer may have a central region with peripheral edges. The central region may be rectangular, may be octagonal, or may have other shapes. Strip-shaped protrusions may extend along each of the edges of the central region. The strip-shaped protrusions may be bent downwardly so that the protrusions have curved surface profiles.
Apple adds that the display cover layer, which may be formed from a layer of glass, clear polymer, or other protective material may have a cushion shape with edges that bow outwardly to partially overlap the strip-shaped protrusions. The display cover layer may have curved inner and outer surfaces and/or planar surfaces, may have rounded corners with compound curvature, may have edges with curved surface profiles, and/or may have other configurations.
Finally, housing structures may overlap gaps formed at corners of the central region. The housing structures may be formed from opaque material such as metal and may help block the corners from view from the exterior of the electronic device.
Article provided with permission from AppleWorld.Today

