Apple has filed for a patent (number 20210321889) for a “stretchable blood pressure cuff” for the Apple Watch.
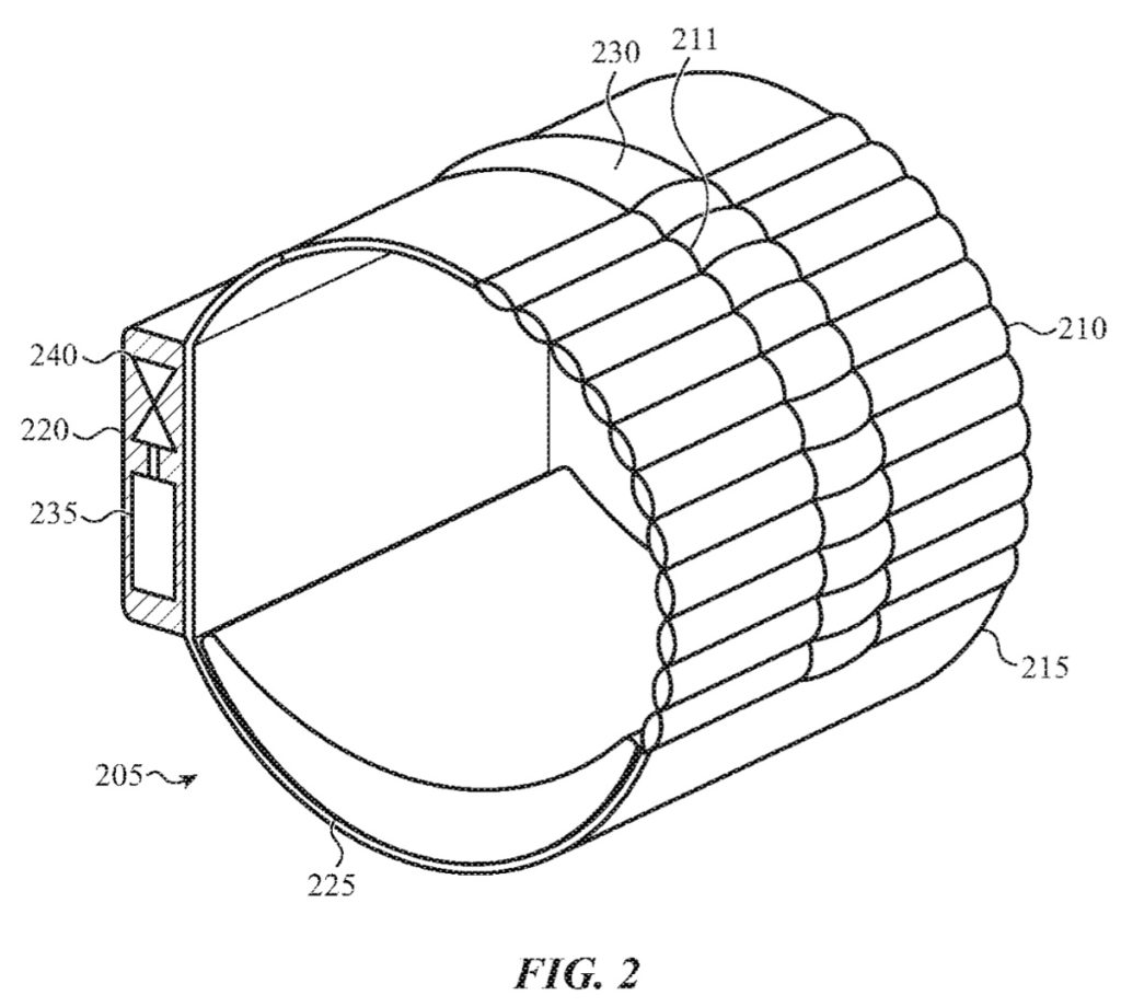
In the patent filing, Apple notes that a user may monitor one or more of their physiological parameters by attaching a monitoring device such as a blood pressure monitor to one of their limbs. The blood pressure monitor may include an inextensible cuff that secures an inflatable bladder against a limb of the user.
The inflatable bladder can be expanded, and the inextensible cuff may cause the bladder to compress the limb, thereby compressing one or more blood vessels in the limb and restricting and/or stopping blood flow through the vessels. The various pressures in the inflatable bladder that restrict and/or stop blood flow through the vessels in the limb may be measured and used to determine one or more physiological parameters of a user such as blood pressure of the user.
Apple says that a physiological monitoring device such as blood pressure cuff is typically worn during the measurement, and is removed promptly thereafter. The tech giant adds that, in some cases, it might be desirable to wear the monitoring device for longer periods of time such that physiological measurements can be performed at periodically or continuously.
Apple’s idea is that the cuff would double as an Apple Watch band.
Article provided with permission from AppleWorld.Today

