Apple has been granted a patent (number 11,136,191) that hints at future modular devices that could be more easily disassembled. The invention is meant to help deal with e-waste issues.
About the patent
In the patent, Apple notes that over one billion new smart phones are sold worldwide every year. Manufacturers also sell other devices such as tablet computers, laptop computers, televisions, digital cameras, wearable devices, drones, home appliances, Internet of Things (IoT) devices, and many other types of consumer electronic devices every year.
As technology evolves, new features are integrated into these devices. Materials utilized to manufacturer particular components or a form factor of the device may change as new models are designed and sold. New components may be added to the devices or old components may be replaced with new components.
Apple says that consumers are constantly upgrading the devices they have bought with newer generations of the same device or similar devices, which may lead some consumers to no longer want their old consumer electronic devices. However, consumer electronic devices may include hazardous materials such as heavy metals in lithium ion batteries or arsenic, copper, lead, and/or other elements in printed circuit boards that may be toxic.
Apple says there’s a desire to prevent landfills from being filled with these harmful materials. In addition, some materials in consumer electronic devices may be very valuable if properly recycled. Consequently, there is a desire to collect older consumer electronic devices in order to salvage the components for reuse or recycle the materials included in these devices. However, the numbers of devices that may need to be processed on a yearly basis is too large and potentially hazardous to efficiently handle with manual disassembly techniques. Apple thinks more modular designs could be the answer.
Summary of the patent
Here’s Apple’s abstract of the patent: “According to some embodiments, a method is described that can include based on dimensions of a first housing of a first portable electronic device, adjusting a position of an adjustable supporting member capable of supporting the first housing relative to a disassembly station. The method can further include using the disassembly station, separating a first display from the first housing while the first housing is supported by the adjustable support member.
“The method can further include receiving a second portable electronic device, where the second portable electronic device includes a second housing having dimensions that are different than the first housing. The method can further include based on the dimensions of the second housing, adjusting the position of the adjustable supporting member. The method can further include using the disassembly station, separating a second display from the second housing while the second housing is supported by the adjustable support member.”
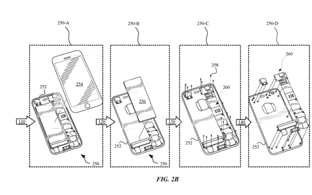
FIG. 2B illustrates an exploded view of a portable electronic device that is disassembled by the modular system.
Article provided with permission from AppleWorld.Today

