Apple has been granted another patent (number 11,132,162) — one of dozens — for gaze-based user interactions. It involves Macs, iPads, iPhones, and other devices responded to eye and head movements.
About the patent
The patent describes techniques for interacting with an electronic device using an eye gaze. If the invention ever materializes in an Apple product, a user could use his or her eyes to interact with user interface objects displayed on the electronic device.
Apple says the techniques provide a more natural and efficient interface by allowing a user to operate the device using primarily eye gazes and eye gestures (e.g., eye movement, blinks, and stares).
Techniques are also described for using eye gaze to quickly designate an initial position (e.g., for selecting or placing an object) and then moving the designated position without using eye gaze. Why? “Precisely locating the designated position can be difficult using eye gaze due to uncertainty and instability of the position of a user’s eye gaze,” according to Apple.
The techniques can be applied to conventional user interfaces on devices such as desktop computers, laptops, tablets, and smartphones. Apple says the techniques are also advantageous for computer-generated reality (including virtual reality and mixed reality) devices.
Summary of the patent
Here’s Apple’s abstract of the patent: “In an exemplary process for interacting with user interface objects using an eye gaze, an affordance associated with a first object is displayed. A gaze direction or a gaze depth is determined. While the gaze direction or the gaze depth is determined to correspond to a gaze at the affordance, a first input representing user instruction to take action on the affordance is received, and the affordance is selected responsive to receiving the first input.”
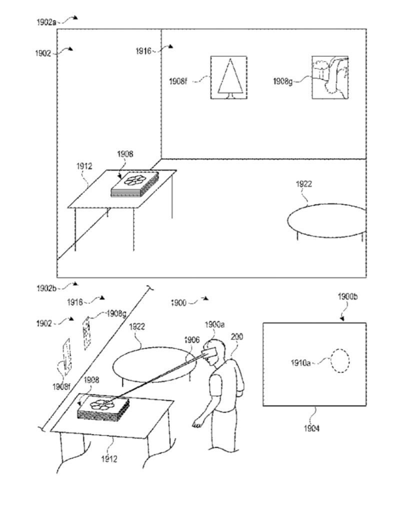
FIG. 19A illustrates a user interface for interacting with an electronic device using an eye gaze.
Article provided with permission from AppleWorld.Today

