Let the Apple Car rumors roll on. An Apple-made vehicle could have a windshield designed to block bright lights so they wouldn’t interfere with the driver or passenger. The tech giant has been granted a patent (number 11,130,391) for an “active glare suppression system.”
About the patent
Of course, automobiles have a rear mirror and left and right side mirrors. Ambient light such as sunlight and light from headlights can reflect off of the mirrors and into the eyes of a driver. A driver may also be exposed to sunlight, light from headlights, and other sources of glare through the windows of a vehicle.
Apple says that sunshades and window tinting may be used to reduce glare somewhat, “but can be cumbersome and ineffective.” The tech giant says it would be desirable to be able to provide improved ways in which to reduce glare in a vehicle.
Summary of the patent
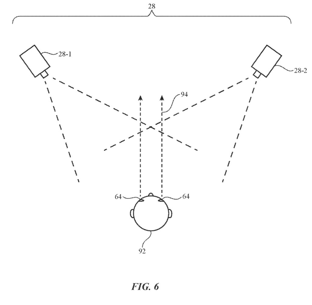
Here’s Apple’s abstract of the patent: “A vehicle may have optical structures such as windows and mirrors that have the potential to allow glare from external objects to shine into the eyes of a driver or other vehicle occupant. A control circuit may gather information on where the eyes of the driver are located using a camera mounted in the vehicle and may gather information on where the sun or other source of glare are located outside of the vehicle.
“Based on this information, the control circuit may direct a light modulator on a window or mirror to selectively darken an area that prevents the glare from reaching the eyes of the driver. The light modulator may have a photochromic layer that is adjusted by shining light onto the photochromic layer, may be a liquid crystal modulator, an electrochromic modulator, or other light modulator layer.”
When might we see an Apple Car?
The status of an Apple auto is unclear. On June 2, Bloomberg reported that Apple has lost “several” top managers from its “Apple Car” project. Here’s what the report says: Apple Inc. has lost multiple top managers of its self-driving car team in recent months, a sign of attrition at the division involved in what could become an important future product.
If an Apple Car ever arrives, it probably won’t arrive until 2024 at the earliest. In fact, Apple analyst Ming-Chi Kuo doesn’t expect it until at least 2025.The accompanying graphic illustrates a vehicle comprising a transparent surface which provides an augmented reality display that modifies occupant-perceived information presented by a sign located in the external environment.
FIG. 6 is a top view of an illustrative sensor such as an image sensor system based on a stereo camera of the type that may be used to gather eye location info in accordance with Apple’s patent.
Article provided with permission from AppleWorld.Today

