Apple has filed for a patent (number 20210281965) for “determining head pose based on room reverberation.” The purpose of the invention is for your various Apple devices to know which one you’re addressing when you need Siri, Apple’s “personal digital assistant.”
About the patent filing
In the patent filing, the tech giant notes that in some circumstances it may not be clear to Siri on an electronic device if the user is intending to interact with the digital assistant or is rather speaking to another person or device. For example, the user may speak an utterance in a room with an electronic device and multiple other people that could be directed at the digital assistant or one of the other people.
In this situation, the digital assistant may be unable to determine from the utterance alone if it should respond to the user through the electronic device. Apple wants Siri to be able to determine the user’s head pose (e.g., if the user is facing the electronic device) during the utterance and is more or less likely addressing the digital assistant.
Summary of the patent filing
Here’s Apple’s abstract of the patent filing: “Systems and processes for operating an intelligent automated assistant are provided. An examples process of operating an intelligent automated assistant includes, at an electronic device with one or more processors and memory, receiving audio input, determining a direct-to-reverberant energy ratio based on the audio input, and determining a head pose of a user based on the direct-to-reverberant energy ratio.”
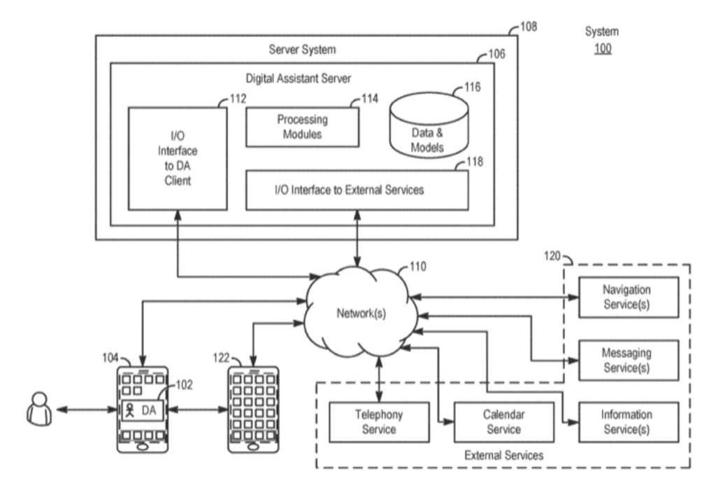
The accompanying graphic illustrates a system and environment for implementing a digital assistant.
Article provided with permission from AppleWorld.Today

