Let the Apple Car rumors roll on. Apple has filed for a patent (number 20210265881) for a “visual content overlay system” for a vehicle.
About the patent filing
It’s, among other things, a safety feature. In many situations, a graphical overlay can be provided on an environment that is perceived through a transparent surface, including a window. A graphical overlay can provide information to an observer, including information which is relevant to one or more portions of the perceived environment.
In some cases, a graphical overlay is used in a vehicle, where a graphical overlay can be perceived by an occupant of an Apple Car. It provides information relevant to one or more of the vehicle, including vehicle speed, and one or more portions of the environment in which the vehicle is located. Such information can be provided on a transparent surface, including a forward window, also referred to herein as a windscreen, windshield, etc.. The info can can be perceived by an operator of the vehicle, including a driver, near the line of sight of the operator as the operator observes the environment through which the vehicle is navigated, including an oncoming roadway.
In the patent filing, Apple says that, in some cases, the graphics displayed should be able to overlay certain objects located in the environment perceived though the transparent surface. It can augment, alter, control, information related to the environment that’s provided to an observer via the transparent surface.
Summary of the patent filing:
Here’s Apple’s abstract of the patent filing: “An augmented reality display system included in a vehicle generates an augmented reality display, on one or more transparent surfaces of the vehicle. The augmented reality display can include an indicator of the vehicle speed which is spatially positioned according to the speed of the vehicle relative to the local speed limit. The augmented reality display can include display elements which conform to environmental objects and can obscure and replace content displayed on the objects.
“The augmented reality display can include display elements which indicate a position of environmental objects which are obscured from direct perception through the transparent surface. The augmented reality display can include display elements which simulate one or more particular environmental objects in the environment, based on monitoring manual driving performance of the vehicle by a driver. The augmented reality display can include display elements which identify environmental objects and particular zones in the environment.”
When might we see an Apple Car?
The status of an Apple auto is unclear. On June 2, Bloomberg reported that Apple has lost “several” top managers from its “Apple Car” project. Here’s what the report says: Apple Inc. has lost multiple top managers of its self-driving car team in recent months, a sign of attrition at the division involved in what could become an important future product.
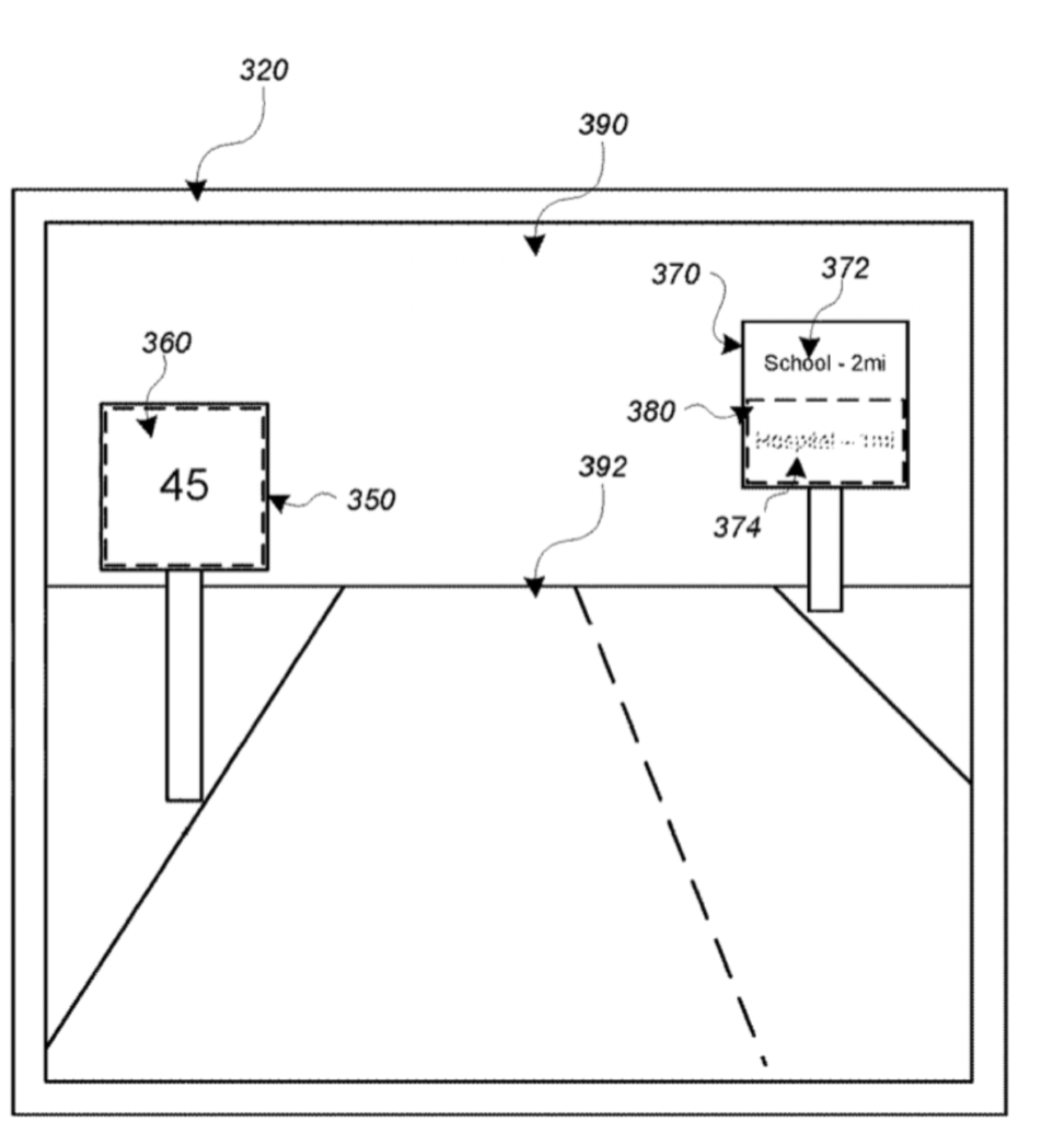
If an Apple Car ever arrives, it probably won’t arrive until 2024 at the earliest. In fact, Apple analyst Ming-Chi Kuo doesn’t expect it until at least 2025.The accompanying graphic illustrates a vehicle comprising a transparent surface which provides an augmented reality display that modifies occupant-perceived information presented by a sign located in the external environment.
The accompanying graphic illustrates a vehicle comprising a transparent surface which provides an augmented reality display that modifies occupant-perceived information presented by a sign located in the external environment.
Article provided with permission from AppleWorld.Today

