Apple has been granted two patents (numbers 11,087,559 and 11,087,558) for “managing augmented reality content associated with a physical location.” It involves managing augmented reality (AR) content using the rumored “Apple Glasses,” an AR/virtual reality head-mounted display (HMD). The HMD would be used in tandem with an iPhone for the tasks associated with these patents.
About the patents
In the patent data, Apple notes that a physical location refers to a physical environment or a location in a physical environment. Physical locations can include physical objects, such as physical trees, physical buildings, and physical people. AR is a technology that allows virtual objects to be combined with the physical location and/or physical objects.
Summary of the patents
Here’s Apple’s abstract of the patents: “The present disclosure relates to managing augmented reality content created on a first electronic device and viewed at a second electronic device. In some embodiments, the first electronic device determines its physical location, receives input representing user-generated augmented reality content, displays an augmented reality environment including the user-generated augmented reality content overlaid on a live view of the physical location, and sends the user-generated augmented reality content to an external storage repository. The second electronic device can then receive the user-generated augmented reality content, determine whether it is at the physical location, and display the user-generated augmented reality content when it is at the physical location.”
About Apple Glasses
When it comes to Apple Glasses, such a device will arrive in 2022 or 2023 depending on which rumor you believe. It will be a head-mounted display. Or may have a design like “normal” glasses. Or it may be eventually be available in both. The Apple Glasses may or may not have to be tethered to an iPhone to work. Other rumors say that Apple Glasses could have a custom-build Apple chip and a dedicated operating system dubbed “rOS” for “reality operating system.”
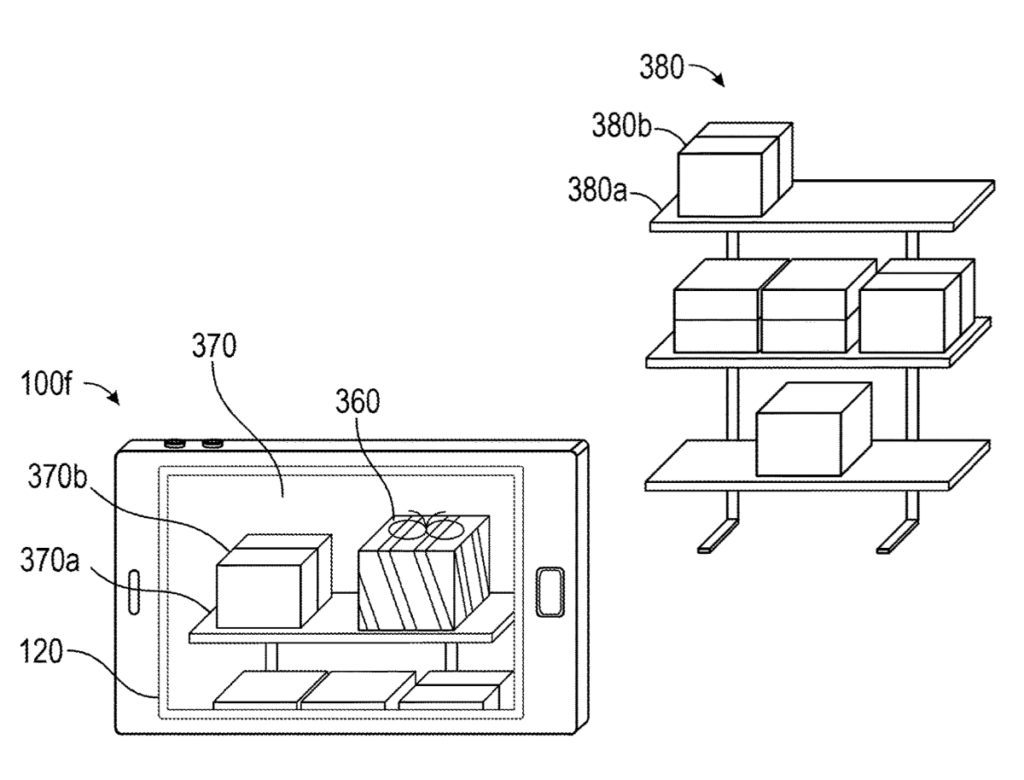
The graphic shows technique for displaying on a second device the augmented reality content created on a first device.
Article provided with permission from AppleWorld.Today

