I doubt that Apple is planning on making robots (iRobot?!), but a newly filed Apple patent (number 20210247203) mentions robots, as well as cars and submarines. The patent is for “systems and method for generating an interactive user interface.”
About the patent filing
The idea is for an interactive user interface providing information relating to operation of an autonomous machine. In the patent filing Apple notes that autonomous machines, including robots, aerial vehicles, aerospace vehicles, submersible vehicles, automobiles, other ground vehicles, and the like, are capable of operating within their respective environments with limited input from a user. However, the tech giant says that conventional autonomous machines generally fail to compensate for this lack of operational engagement between the user and the autonomous machine.
As a result, the user may be unaware of future actions planned by the autonomous machine and/or lack an understanding of a basis of a decision or action of the autonomous machine, which may unnecessarily decrease a confidence of the user in the autonomous machine or otherwise make the user uneasy. Apple says that, with these observations in mind, various aspects of the present disclosure were conceived and developed.
Summary of the patent filing
Here’s Apple’s abstract of the patent filing: “Implementations described and claimed herein provide systems and methods for interaction between a user and a machine. In one implementation, machine status information for the machine is received at a dedicated machine component. The machine status information is published onto a distributed node system network of the machine.
“The machine status information is ingested at a primary interface controller, and an interactive user interface is generated using the primary interface controller. The interactive user interface is generated based on the machine status information. In some implementations, input is received from the user at the primary interface controller through the interactive user interface, and a corresponding action is delegated to one or more subsystems of the machine using the distributed node system network.”
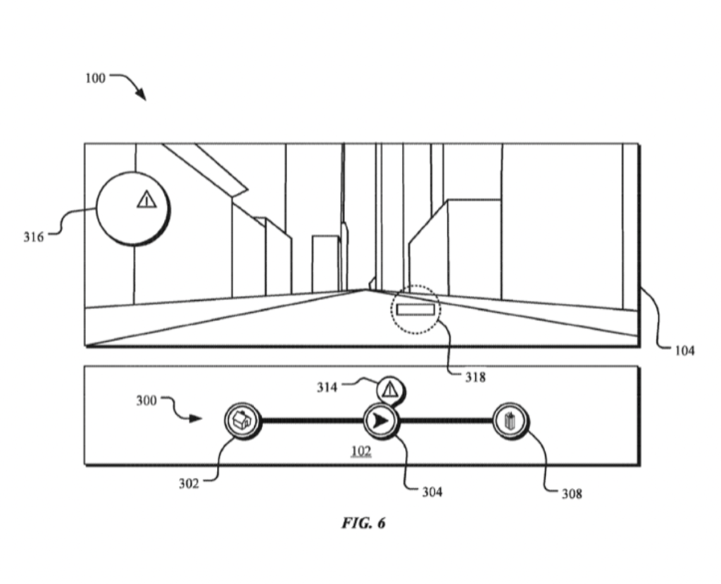
Figure 6 illustrates a control system for an Apple Car.
Article provided with permission from AppleWorld.Today

