Forget the rumored augmented reality/virtual reality head-mounted display. I want the type of “Apple Glasses” hinted at in a newly granted Apple patent (number 11,086,143).
It involves a form factor akin to current eyeglasses, but with a “turnable, foveated lens system.” And such glasses would be a boon to those who are near-sighted, far-sighted, and/or suffer from “presbyopia.”
About the patent
In the patent data, Apple says that eyeglasses may be worn by a user and may include one or more adjustable lenses each aligned with a respective one of a user’s eyes. For example, a first adjustable lens may align with the user’s left eye and a second adjustable lens may align with the user’s right eye.
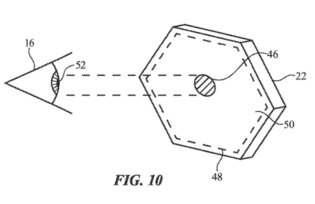
The control circuitry of the Apple Glasses may track the user’s gaze with a sensor system and may adjust the location of the optically distinct area of the adjustable lenses so that it remains aligned with the user’s gaze. Apple says that such optical powers can be helpful to users exhibiting presbyopia (which I have)— a condition whereby the user’s eyes are no longer able to adjust their focal power to bring into focus objects at significantly different distances. Apple says that glasses able to compute the deficiency in the user’s accommodation can correct for this deficiency through applying distinct optical power. What’s more, the tech giant says that limiting the spatial extent of the differing optical power can reduce disorienting visual sensations caused by changes in magnification applied to images of the world as seen through the glasses.
Summary of the patent
Here’s Apple’s abstract of the patent: “A pair of eyeglasses may include one or more adjustable lenses that are each configured to align with a respective one of a user’s eyes. The adjustable lenses may each include electrically modulated optical material such as one or more liquid crystal cells. The liquid crystal cells may include arrays of electrodes that extend along one, two, three, four, or more than four directions.
“Control circuitry may apply control signals to the array of electrodes in each liquid crystal cell to produce a desired phase profile. Each lens may be foveated such that portions of the lens within the user’s gaze exhibit a different phase profile than portions of the lens outside of the user’s gaze. The control circuitry may adjust the location of the optically distinct area so that it remains aligned with the user’s gaze.”
Figure 10 is a perspective view of a foveated adjustable lens system.
Article provided with permission from AppleWorld.Today

