Apple has been granted a patent (number 11,081,138) for “systems and methods for automated music rearrangement.” It involves syncing music with video in iMovie, Final Cut Pro, and perhaps even Photos.
About the patent
In the patent, Apple notes that a user may wish to use a short audio segment as background music for video and/or photo collage. The collage can be generated by a device and/or by the user. However, a problem with this is that the length of the collage is shorter than a typical audio track.
For example, a collage of several photos and/or video clips may be on the order of 45-75 seconds, whereas a song that the user may wish to use can be on the order to three minutes or longer. This means the lengths of the songs can be much longer than collage.
Of course, a user could use a clip of the proper length from a desired song, but that clip may not follow the intended artistic progression. For example, the short audio clip of the song may miss an intro, body, or outro. Apple wants to overcome this by using a “plurality of processing units.”
Summary of the patent
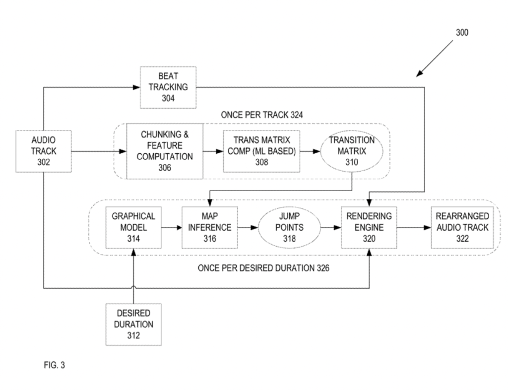
Here’s Apple’s abstract of the patent: “A method and apparatus of a device that builds a target using a plurality of processing units is described. In an exemplary embodiment, the device receives an input audio track having a first duration, the input audio track having a plurality of points. The device further generates a transition matrix of the input audio track, wherein the transition matrix indicates a similarity metric between different pairs of the plurality of points.
“In addition, the device determines a set of jump points using the different pairs of the plurality of points. The device additionally generates the rearranged audio track using the set of jump points, wherein the rearranged audio track has second duration and the second duration is different than the first duration.”
Article provided with permission from AppleWorld.Today

