Future iPhones may do away with notches and holes for cameras or other sensors. A newly granted patent (number 11,079,7970) hints at Apple may replace them with “adjustable display windows.”
About the patent
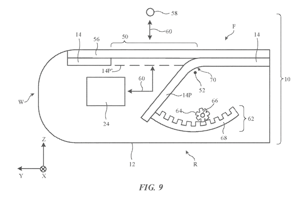
The aforementioned notches and holes are perceived by some to be the main flaw in the iPhone’s sleek design. Apple’s idea is for a flexible display that could slide completely within the smartphone’s enclosure. The iPhone screen would dim slightly when the display is moved to allow for photography and videography. By the way, the accompanying graphic is a cross-sectional side view of a portion of an iPhone having a window with a bendable display region.
Summary of the patent
Here’s Apple’s abstract of the patent: “An electronic device may have a display with an array of pixels for displaying images. The display may have a window region. During operation, a component such as an optical component may operate through the window region. The window region may overlap a movable portion of the display. The window region may be operated in open and closed states. In the closed state, the movable portion of the display overlaps the window region and pixels in the movable display portion emit light through the window region.
“In the open state, the movable portion of the display is moved away from the window region so that light for the optical component may pass through the window region. The optical component may be a camera or other component that receives light through the window region or may be an optical component
Article provided with permission from AppleWorld.Today

