Apple has filed for a patent (number 20210235054) for “focusing on virtual and augmented reality systems.” It involves “Apple Glasses,” the rumored augmented reality/virtual reality head-mounted display (HMD).
About the patent filing
Virtual reality (VR) allows users to experience and/or interact with an immersive artificial environment, such that the user feels as if they were physically in that environment. For example, virtual reality systems may display stereoscopic scenes to users in order to create an illusion of depth, and a computer may adjust the scene content in real-time to provide the illusion of the user moving within the scene. As Apple notes in the patent filing, when the user views images through a virtual reality system, the user may feel as if they’re moving within the scenes from a first-person point of view.
Similarly, mixed reality (MR) or augmented reality (AR) systems combine computer generated information (referred to as virtual content) with real world images or a real world view to augment, or add content to, a user’s view of the world. Apple wants the simulated environments of VR and/or the mixed environments of MR in Apple Glasses to be able to provide an interactive user experience for multiple applications. Those applications include adding virtual content to a real-time view of the viewer’s environment, interacting with virtual training environments, gaming, remotely controlling drones or other mechanical systems, viewing digital media content, interacting with the Internet, or the like.
Summary of the patent filing
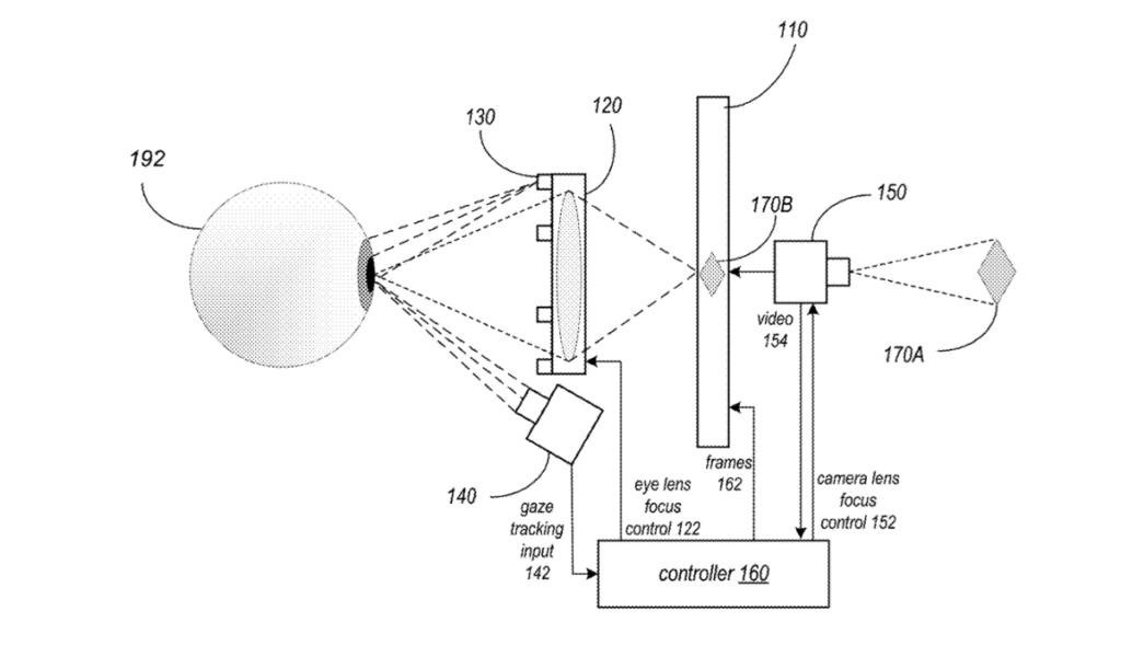
Here’s Apple’s abstract of the patent filing: “Methods and apparatus for focusing in virtual reality (VR) or augmented reality (AR) devices based on gaze tracking information are described. Embodiments of a VR/AR head-mounted display (HMD) may include a gaze tracking system for detecting position and movement of the user’s eyes.
“For AR applications, gaze tracking information may be used to direct external cameras to focus in the direction of the user’s gaze so that the cameras focus on objects at which the user is looking. For AR or VR applications, the gaze tracking information may be used to adjust the focus of the eye lenses so that the virtual content that the user is currently looking at on the display has the proper vergence to match the convergence of the user’s eyes.”
About Apple Glasses
When it comes to Apple Glasses, such a device will arrive this year or 2022, depending on which rumor you believe. The Sellers Research Group (that’s me) thinks Apple will at least preview it before the end of the year.
It will be a head-mounted display. Or may have a design like “normal” glasses. Or it may be eventually be available in both. The Apple Glasses may or may not have to be tethered to an iPhone to work. Other rumors say that Apple Glasses could have a custom-build Apple chip and a dedicated operating system dubbed “rOS” for “reality operating system.”
Article provided with permission from AppleWorld.Today

