Apple has filed for yet another patent (number 20210223662) that hints at a “foldable” iPhone. This one is for a “camera with folded optics having a moveable lens.” And while it doesn’t directly address a foldable smartphone, the described camera would be necessary for such a device.
About the patent filing
In the patent filing, Apple notes that the advent of small, mobile multipurpose devices such as smartphones and tablet or pad devices has resulted in a need for high-resolution, small form factor cameras for integration in the devices. Some small form factor cameras may incorporate optical image stabilization (OIS) mechanisms that may sense and react to external excitation/disturbance by adjusting location of the optical lens on the X and/or Y axis in an attempt to compensate for unwanted motion of the lens.
Some small form factor cameras may incorporate an autofocus (AF) mechanism whereby the object focal distance can be adjusted to focus an object plane in front of the camera at an image plane to be captured by the image sensor. In some such autofocus mechanisms, the optical lens is moved as a single rigid body along the optical axis of the camera to refocus the camera.
The patent summary
Here’s Apple’s abstract of the patent filing: “Various embodiments include a camera with folded optics and lens shifting capabilities. Some embodiments include voice coil motor (VCM) actuator arrangements to provide autofocus (AF) and/or optical image stabilization (OIS) movement. Some embodiments include suspension arrangements.”
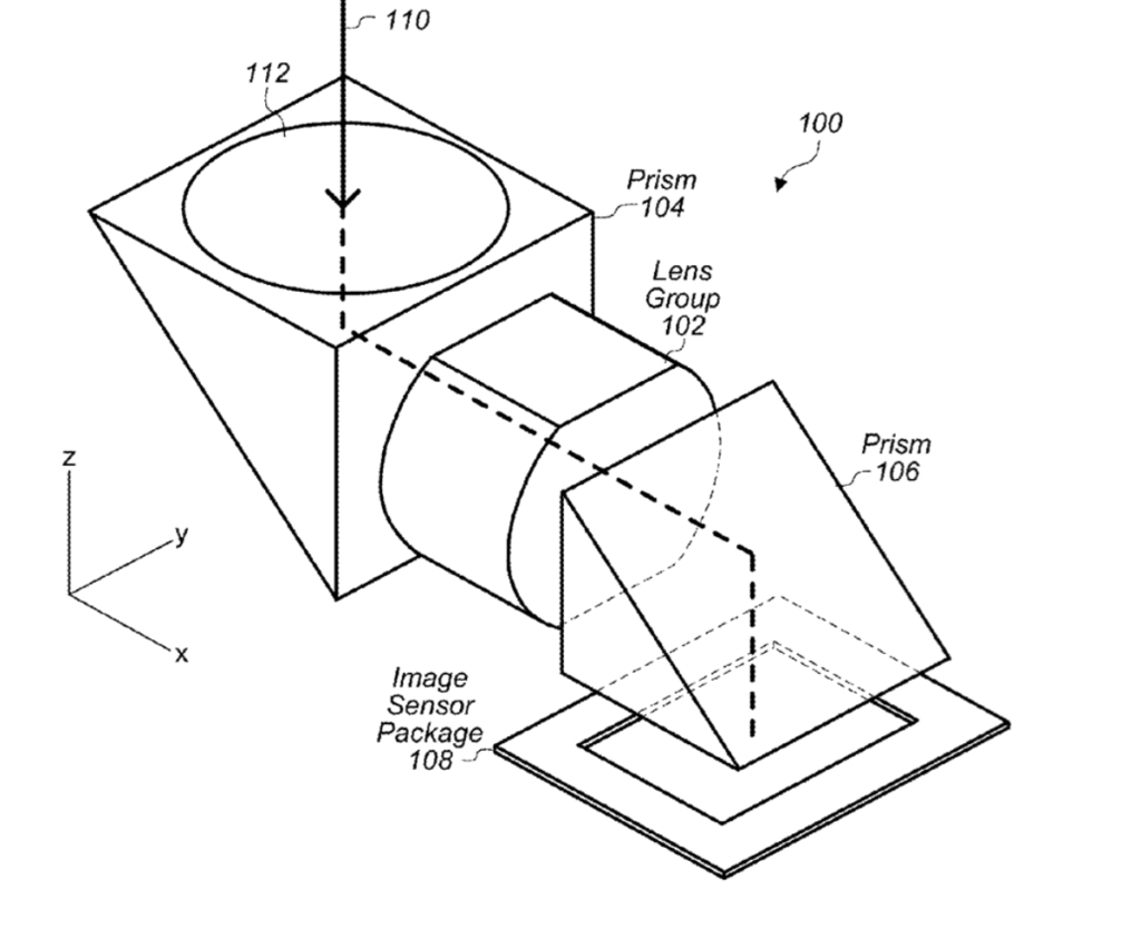
Figure 1 illustrates a camera with foldable optics and a moveable lens.
Article provided with permission from AppleWorld.Today

