Future iPhones and iPads may include both Face ID and Touch ID via under-screen sensors. A newly granted Apple patent (number 11,067,884) is for “through-display optical transmission, reception, or sensing through micro-optic elements.
Touch ID
Touch ID is an electronic fingerprint recognition feature, designed and released by Apple that allows users to unlock Apple devices, make purchases in the various Apple digital media stores (the iTunes Store, the App Store, and the Apple BookStore), and authenticate Apple Pay online or in apps.
Face ID
Face ID is designed to securely unlock your iPhone or iPad Pro. You can use it to authorize purchases from the iTunes Store, App Store, and Apple Books, and payments with Apple Pay. Developers can also allow you to use Face ID to sign into their apps. Apps that support Touch ID automatically support Face ID. Face ID is available on iPhone X and later and iPad Pro models with the A12X Bionic chip.
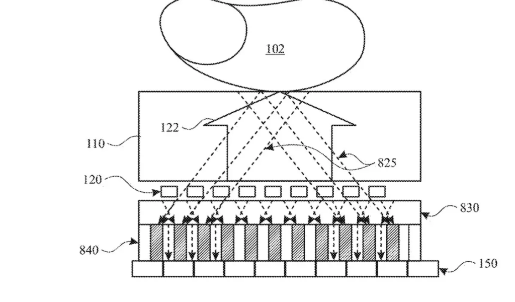
In the patent Apple says that, in some cases, it may be desirable to determine whether an object or user is proximate to a device, to determine the distance between an object or user and a device, or to determine a velocity or acceleration of an object or user with respect to a device. It may also be desirable to capture a two-dimensional (2D) or three-dimensional (3D) image of an object or user that is proximate to a device. In some cases, the 2D or 3D image may be an image of a fingerprint, a face, or a scene in a field of view (FoV). In some cases, it may be useful to wirelessly transmit or receive information between devices. It may also be useful to acquire images or data pertaining to a device’s environment. In all of these cases, the measurements, images, or other data may be sensed or acquired optically.
The summary of the patent:
Here’s the abstract of the patent: “A device includes a display stack and an optical receiver. The display stack includes a set of opaque elements defining a translucent aperture. The translucent aperture extends through the display stack. The optical receiver is spaced apart from and behind a back surface of the display stack. At least one micro-optic element is formed on the back surface of the display stack, between the display stack and the optical receiver. The at least one micro-optic element includes a micro-optic element having a focal point located within the translucent aperture. The optical receiver is configured to receive light through the translucent aperture and the at least one micro-optic element.”
Article provided with permission from AppleWorld.Today

