Let the Apple Car rumors roll on. Apple has been granted a patent (number 11,046,143) for a “fully-actuated suspension system.”
Background of the patent
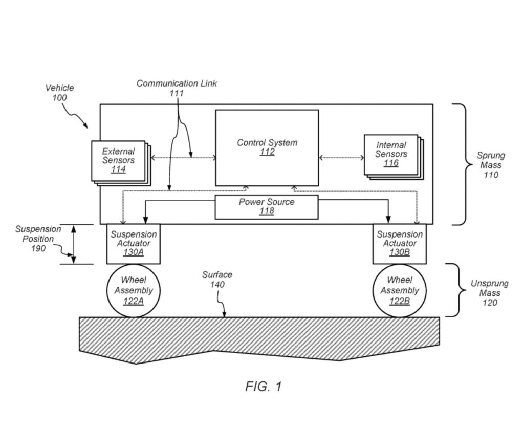
In the patent, the tech giant notes that contemporary vehicles, which can include automobiles, delivery trucks, commercial vehicles, etc., can include one or more suspension systems. Such suspension systems, which can include one or more suspension actuators, can support a portion of the vehicle above another portion of the vehicle that contacts a surface upon which the vehicle is navigated, rests, etc. Apple notes that contemporary fully-actuated suspension systems are often implemented via converting the passive damper into a hydraulic actuator, by replacing the spring and damper system altogether with a hydraulic, mechanical, or electromagnetic actuator, etc. The tech giant thinks it can do better.
When can we expect an Apple Car?
The status of an Apple auto is unclear. On June 2, Bloomberg reported that Apple has lost “several” top managers from its “Apple Car” project. Here’s what the report says: Apple Inc. has lost multiple top managers of its self-driving car team in recent months, a sign of attrition at the division involved in what could become an important future product.
If an Apple Car ever arrives, it probably won’t arrive until 2024 at the earliest. In fact, Apple analyst Ming-Chi Kuo doesn’t expect it until at least 2025.
Summary of the patent
Meanwhile, here’s the summary of the newly granted patent: “Some embodiments provide a fully-actuated suspension system which can provide adjustable displacement of a sprung mass from a neutral suspension position over an unsprung mass. The system includes a variable pressure air spring which can adjust the neutral suspension position and execute low-frequency displacements and a hydraulically-driven piston which can execute high-frequency displacements. The system can communicate information to a driver, via haptic feedback provided via actuator displacements, which can augment the driver’s situational awareness.
“The system can provide augmented vehicle braking via displacing the unsprung mass of the vehicle towards the surface upon which the vehicle rests to increase the normal force and contact area of the unsprung mass on the surface, unload torsion of the wheel induced by applied braking pressure to the wheel, etc. The system can compensate for vehicle oscillations at frequencies below the primary ride frequency, thereby mitigating the risk of occupant motion sickness.”
Article provided with permission from AppleWorld.Today

