Apple has filed for a patent (number 20210192802) for “inserting imagery from a real environment into a virtual environment.” Apple wants you to be able to do this on your Mac.
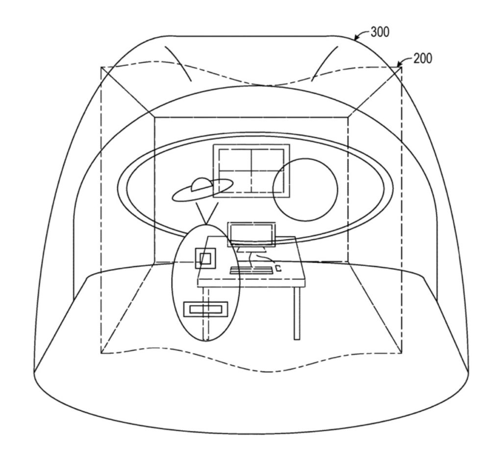
The idea is for your computer to be able to completely project or partially superimpose computer-generated images on a user’s view to provide a virtual environment (VR) that can be experienced by the user. A virtual environment can be based on different types of realities.
Per the patent filing, an electronic device can optionally detect the user’s real movements and projects and simulates those movements within a series of visual images or video of the virtual environment. Through these movements projected or simulated within the virtual environment, the user can appear to move to different locations within the virtual environment.
Of course, this means that Macs would have to be able to detect your gaze and eye movements. Apple has filed for, and been granted, several patents regarding this. The current patent filing could, conceivably, also involve interact between a Mac and the rumored “Apple Glasses.” The latter is the anticipated augmented reality/virtual reality head-mounted display (HMD).
Here’s the summary of the patent filing: “While presenting (e.g., displaying) the virtual environment at an electronic device, a proximity of the electronic device to a physical object located in a real environment is detected. In response to detecting that the proximity of the electronic device to the physical object is less than a first threshold distance, imagery of the physical object is isolated from other imagery of the real environment. The isolated imagery of the physical object is inserted into the virtual environment at a location corresponding to the location of the physical object in the real environment. The imagery of the physical object has a first visibility value associated with the proximity of the electronic device to the physical object.”
Article provided with permission from AppleWorld.Today

