Apple has filed for a patent (number 20210112184) for a “portable electronic devices” that shows improved camera and audio components in future iPhones and iPads.
In the patent filing, the company says that, as portable electronic devices continue to include increasingly greater numbers of features, integration of those features into a single device becomes increasingly complex. One particular feature that has become ubiquitous in popular portable electronic devices is imaging operations enabled by camera modules.
Because camera modules can include fragile components such as lens and electronics, proper mounting of a camera module is important to protect the components from damage.
What’s more, improper alignment of the camera module with a portable electronic device can result in unexpected or even degraded imaging performance. Apple continues to work on overcoming such issues.
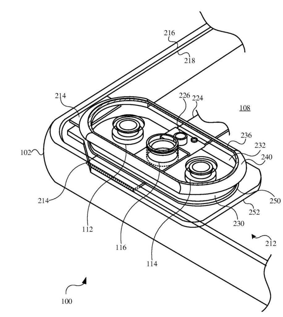
Here’s the summary of the patent filing: “Portable electronic devices having I/O assemblies that can include optical and audio components are described. An exemplary I/O assembly can include a first camera module and a second camera module that can be carried within a camera module housing. A flex connector can carry a strobe that can be positioned between the first camera module and the second camera module. A trim can enclose the first camera, the second camera and the strobe and optically isolates the optical components.
“An exemplary portable electronic device can include a side wall retainer that defines its perimeter, a front cover glass and a rear cover glass that cooperate to form an enclosure. The I/O assembly can be secured to the enclosure both from inside and outside of the rear cover glass. I/O assembly can also include an audio transducer that can record sound when the camera module are recording videos.”
Article provided with permission from AppleWorld.Today

