The rumored “Apple Glasses” — an augmented reality/virtual reality/mixed reality head-mounted display (HMD) — may be able to unlock your Mac, iPhone, iPad, and other devices, per a newly granted Apple patent (number 10,893,412) for an “authentication device assisted user authentication.”
As the tech giant notes in the patent filing, many electronic devices restrict access to various features based on authentication of the identity of the user. When multiple devices are used concurrently, procedures for unlocking each device individually can delay user access and reduce the quality of the user experience.
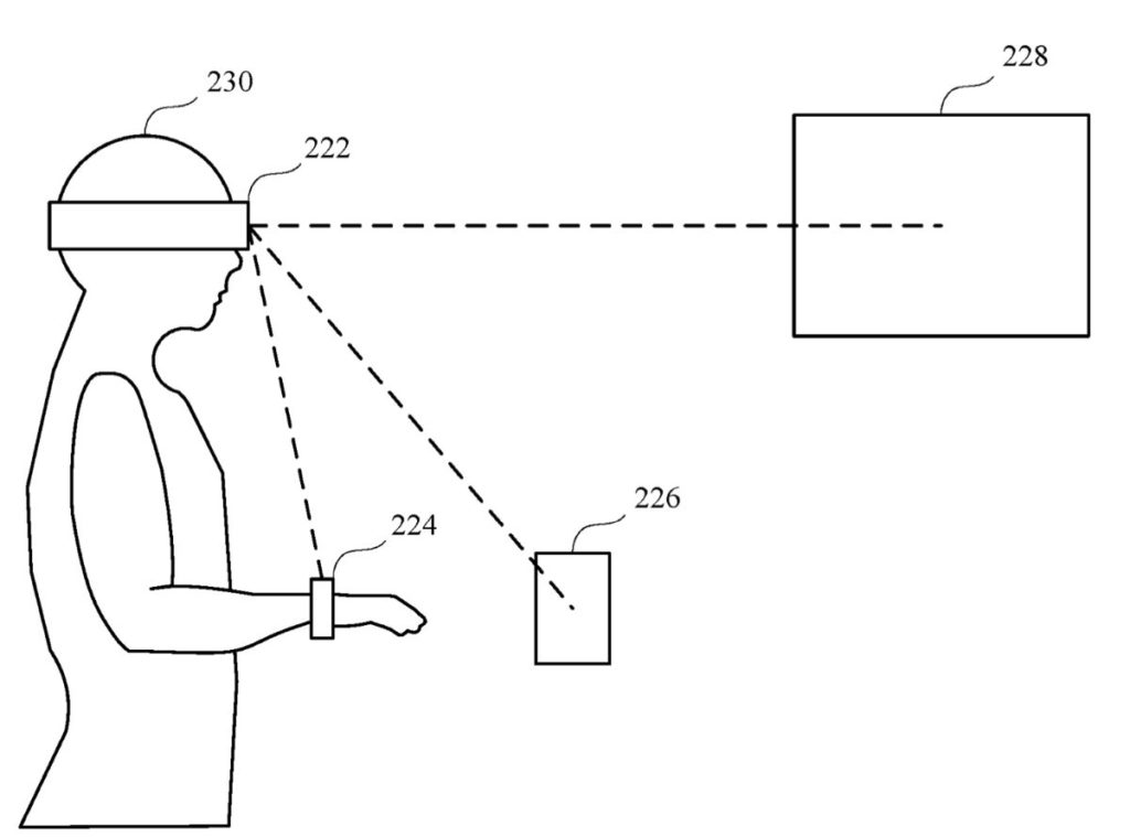
Currently, some Apple devices can unlock others; for example, the Apple Watch can be configured to unlock your Mac. As evidenced by details in the patent filing and accompanying graphics, Apple wants the Apple Glasses to be able to do this and more.
Here’s the summary of the patent data: “Authenticated device assisted user authentication includes detecting, by an authenticated device, a proximate device, wherein a user of the authenticated device is currently authenticated to access a restricted-access function of the authenticated device. The method includes performing, by the authenticated device, an intent determination for the user with respect to a restricted-access function of the proximate device.
“The method includes in response to the intent determination indicating an intent to access the restricted-access function of the proximate device, performing, by the authenticated device, authentication assistance for the user with respect to the proximate device.”
When it comes to Apple Glasses, such a device will arrive this year or 2022, depending on which rumor you believe. The Sellers Research Group (that’s me) thinks Apple will at least preview it before the end of the year.
It will be a head-mounted display. Or may have a design like “normal” glasses. Or it may be eventually be available in both. The Apple Glasses may or may not have to be tethered to an iPhone to work. Other rumors say that Apple Glasses could have a custom-build Apple chip and a dedicated operating system dubbed “rOS” for “reality operating system.”
Article provided with permission from AppleWorld.Today

