Future Apple Watches may be able to tell if you’ve accidentally pressed its face or Digital Crown as evidenced by a newly granted Apple patent (number 10,969,866) for “input management for wearable devices.”
In the patent data, the tech giant notes that traditional portable electronic devices, particularly wearable electronic devices, may be acted upon unintentionally. In such cases, the devices may proceed to perform an action that is associated with activation of a button, even when the activation occurs unintentionally. Apple doesn’t want this happening with the Apple Watch.
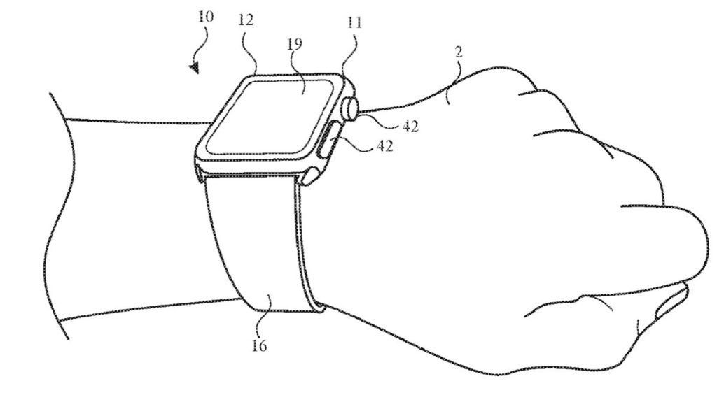
Here’s the summary of the patent: “Wearable electronic devices, such as watches, can be provided with an ability to detect whether a tactile input provided to an input component, such as a button, is intentional or unintentional. For example, a wearable device can analyze the context in which a tactile input is received, such as attributes of the tactile input and/or operational parameters of the wearable device at the time the tactile input is received.
“By further example, a wearable device can infer whether a tactile input is a result of an activity, such as exercising, random movement, or collision with an object. The wearable devices can accept or reject the tactile input and determine whether an action associated with the tactile input should be performed.”
Article provided with permission from AppleWorld.Today

