An Apple patent (number 20120042028) for methods and systems for managing to-do items or notes and electronic messages has appeared at the U.S. Patent & Trademark Office.
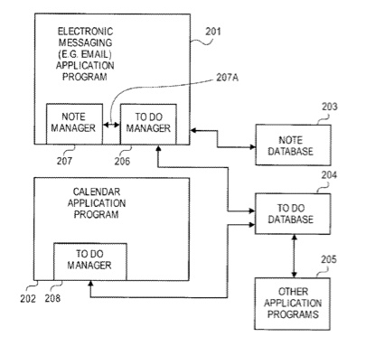
Methods and systems for managing to-do items and/or notes and/or emails (or other electronic messages) are described. A record, such as a To do item, in a database maintained locally by the data processing system is encoded into metadata. The metadata is sent as a false email message by an email client application executing on the data processing system to a remote email message server.
An email client application executing on a remote processing system accesses the email message server and receives the false email message containing the metadata. The remote client application then either converts the metadata back into a database record editable at the remote processing system or presents a non-editable view of the database record, for example as an incoming email message. The inventors are Brendan Langoulant, Stephen Lemay, Scott Forstall, David Paul Hearst, Herman Rodrigo Egiliuz and Gregory Christie.
Here’s Apple’s background on the invention: “Modern data processing systems, such as a general purpose computer, a handheld computer, a cellular telephone, media players, etc. are typically used for a variety of purposes, including uses relating to maintaining lists of items to do or maintaining notes or information for the user and/or allowing the user to transmit electronic messages, such as email, to other users, often through a network.
Certain data processing systems utilize one application program to provide email facilities and another application program to provide a calendar facility. An example of such a data processing system is the Macintosh computer from Apple Computer, Inc. of Cupertino, California. An email program known as ‘Mail’ provides email functionality while a separate application program known as iCal provides calendaring functions.
“There are also examples of an application program which provides a combination of such facilities, such as the program Entourage from Microsoft Corporation, which program runs on a Macintosh computer. The program Entourage includes email functionality as well as a notes functionality, a calendar functionality and a task or To do functionality. To create a To do item, a user must go to the ‘To do’ view (referred to as a ‘task’) and select ‘New’ and then enter information for the new “To do.” A user cannot create a To do from an email view or from a note view.
“They are separate views which the user toggles between by selecting a separate icon for each of those views. The notes functionality is also provided in a separate view in Entourage. A user can copy text in an email while in the email view and then change from the email view to the note view and paste that text into a note. However, the user must switch between the views in order to create a note from text copied from an email. ”

