New Apple patents at the US Patent & Trademark Office involve multipoint screen that’s obviously that of the upcoming iPad, the Apple TV interface, iChat and more.
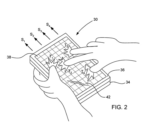
Patent number 7,663,607 is for the multipoint touchscreen. A touch panel having a transparent capacitive sensing medium configured to detect multiple touches or near touches that occur at the same time and at distinct locations in the plane of the touch panel and to produce distinct signals representative of the location of the touches on the plane of the touch panel for each of the multiple touches is disclosed. The inventors are Steve Hotelling, Joshua A. Strickton and Brian Q. Huppi.
Here’s Apple’s summary of the invention: “The invention relates, in one embodiment, to a touch panel having a transparent capacitive sensing medium configured to detect multiple touches or near touches that occur at the same time and at distinct locations in the plane of the touch panel and to produce distinct signals representative of the location of the touches on the plane of the touch panel for each of the multiple touches.
“The invention relates, in another embodiment, to a display arrangement. The display arrangement includes a display having a screen for displaying a graphical user interface. The display arrangement further includes a transparent touch panel allowing the screen to be viewed therethrough and capable of recognizing multiple touch events that occur at different locations on the touch sensitive surface of the touch screen at the same time and to output this information to a host device.
“The invention relates, in another embodiment, to a computer implemented method. The method includes receiving multiple touches on the surface of a transparent touch screen at the same time. The method also includes separately recognizing each of the multiple touches. The method further includes reporting touch data based on the recognized multiple touches.
“The invention relates, in another embodiment, to a computer system. The computer system includes a processor configured to execute instructions and to carry out operations associated with the computer system. The computer also includes a display device that is operatively coupled to the processor. The computer system further includes a touch screen that is operatively coupled to the processor. The touch screen is a substantially transparent panel that is positioned in front of the display. The touch screen is configured to track multiple objects, which rest on, tap on or move across the touch screen at the same time. The touch screen includes a capacitive sensing device that is divided into several independent and spatially distinct sensing points that are positioned throughout the plane of the touch screen. Each sensing point is capable of generating a signal at the same time. The touch screen also includes a sensing circuit that acquires data from the sensing device and that supplies the acquired data to the processor.
“The invention relates, in another embodiment, to a touch screen method. The method includes driving a plurality of sensing points. The method also includes reading the outputs from all the sensing lines connected to the sensing points. The method further includes producing and analyzing an image of the touch screen plane at one moment in time in order to determine where objects are touching the touch screen. The method additionally includes comparing the current image to a past image in order to determine a change at the objects touching the touch screen.
“The invention relates, in another embodiment, to a digital signal processing method. The method includes receiving raw data. The raw data includes values for each transparent capacitive sensing node of a touch screen. The method also includes filtering the raw data. The method further includes generating gradient data. The method additionally includes calculating the boundaries for touch regions base on the gradient data. Moreover, the method includes calculating the coordinates for each touch region.”
Patents number D610,160 and D610,161 are for the ornamental design of a graphical user interface or a portion thereof. It’s for the Apple TV interface. The inventors are Greg Dudey, Rachel Goldeen, Steve Jobs, Jeff Ma and Jeff Robbin.
Patent number 7,663,691 involves image capture using a display device as a light source (this is the iChat related patent). A digital image capture system and method uses a display device to illuminate a target with light for improved image capture under poor lighting conditions. Various characteristics of the flash (e.g., brightness, color, duration, etc.) can be adjusted to improve image capture. Users are provided with feedback (e.g., live video feed, audio and/or visual countdowns, etc.) to assist them in preparing for image capture. The captured images are seamlessly integrated with existing applications (e.g., video conferencing, instant text messaging, etc.). The inventors are Jean-Pierre Ciudad, Alexandre Aybes, Peter Westen, Gregory N. Christie and Scott Forstall.
Patent number 7,663,601 is for a hybrid, low power computer mouse. It involves operating a pointing device in a low power manner by receiving first tracking information from a first tracking device, de-activating the first tracking device when the accuracy of the first tracking information is determined to be inadequate, activating a second tracking device in order to acquire second tracking information when the first tracking device is deactivated, wherein the first tracking device is substantially lower power device that the second tracking device. The inventors are Steve Hotelling, Joshua Strickon, Brian Huppi and Christoph Krah.
Patent number 7,665,017 is fora computer system integrating different data types into a single environment. A system for viewing and manipulating information of various data types within a single document in an integrated computer system environment is disclosed. Each data type is maintained within a dataset. Datasets comprise logical information of a common data type along with the functions or processing logic to view and manipulate that data type. The logical types of information managed by datasets in the preferred embodiment include graphical objects, blocks of text, spreadsheet cells, and database records. Datasets also manage frames. Frames provide a means by which datasets are viewed and manipulated. Each dataset is responsible for managing the display of information inside one of its frames. Significantly, the present invention provides a logical independence between the information contained in a dataset and the manner in which the information is viewed and manipulated (i.e. frames). This independence provides a significant improvement in the ability to manipulate various types of information. Any type and number of datasets can be combined together into a single document and saved in a file system as a document file. The inventors are Robert Audrey Hearn and Scott D. Holdaway.
Patent number 7,665,038 is for a method and apparatus for controlling a display of a data processing system. According to one embodiment of the invention, a method of controlling a display of a data processing system includes: displaying a first list as a scrollable view of items in a first mode; receiving an input to switch from the first mode to a second mode; and displaying, in the second mode, a representation of a command which when activated causes a display of a second list of the items. The first list is displayed within a window and the representation is displayed within the window. According to another embodiment of the invention, a method of controlling a display of a data processing system includes: displaying, in a first mode, a slider control having a slider which can be positioned in one of a plurality of positions to select a corresponding one of a plurality of parameters; receiving an input to switch from the first mode to a second mode; and displaying, in the second mode, a representation of a command which when activated causes a display of a list of items corresponding to at least a subset of the plurality of parameters. The inventors are Imran Chaudhri and Bas Ording.
Patent number 7,664,558 involves efficient techniques for modifying audio playback rates. Improved techniques for modifying a playback rate of an audio item (e.g., an audio stream) are disclosed. As a result, the audio item can be played back faster or slower than normal. The improved techniques are resource efficient and well suited for audio items containing speech. The resource efficiency of the improved techniques make them well suited for use with portable media devices, such as portable media players. The inventors are Aram Lindahl and Joseph Mark Williams.
Finally, has won patent designs for the iPad classic (patent D610,126), the iMac (D610,138) and an iPhone/iPod dock (D610,128). The inventors of these devices include Bartley K. Andre, Daniel J. Coster, Daniele De Iuliis, Evans Hankey, Richard P. Howarth, Jonathan P. Ive, Steve Jobs, Duncan Robert Kerr, Shin Nishibori, Matthew Dean Rohrbach, Peter Russell-Clarke, Douglas B. Satzger, Christopher J. Stringer, Eugene Antony Whang and Rico Zorkendorfer.

